k-part
Номер на схеме Каталожный номер Название Количество Детали
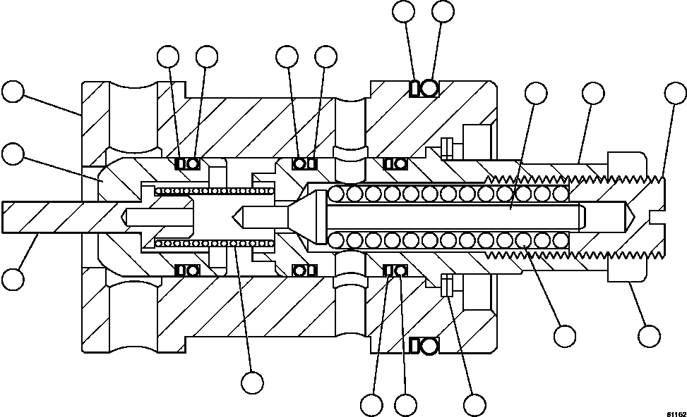
? XA3749 POPPET 1
? VJ2008 RELIEF VALVE 1
? VJ2020 PISTON 1
? VE3610 SPRING (2) 1
? VJ2016 BACKUP RING (1)/(2) 3
? VJ2011 O-RING (1)/(2) 3
? VJ2022 SNAP RING 1
? VJ2015 SPRING (2) 1
? VJ2017 NUT 1
? XA3750 SCREW, ADJUSTING 1
? VJ2018 PLUG 1
? VJ2014 POPPET 1
? VJ2010 BACKUP RING (1)/(2) 1
? VJ2012 O-RING (1)/(2) 1
? XA3747 NOTE: (1) INCLUDED IN XA3747 SEAL KIT.
? XA3748 (2) INCLUDED IN XA3748 SEAL & SPRING KIT.

Dump Trucks Komatsu / AFE47-GW 730E S/N A30651 - A30655 & A30659 - A30668  OCP(AFE47-GW) / RELIEF VALVE ASSEMBLY              VE3567(426 : 61152)
?
?
?
?
?
?
?
?
?
?
?
?
?
?
?
?
?
?