| Наименование | Страница | Код страницы |
|---|---|---|
| DRIVE SHAFT INSTALLATION | 428 | 55350 |
| Номер на схеме | Каталожный номер | Название | Количество | Детали | |||
|---|---|---|---|---|---|---|---|
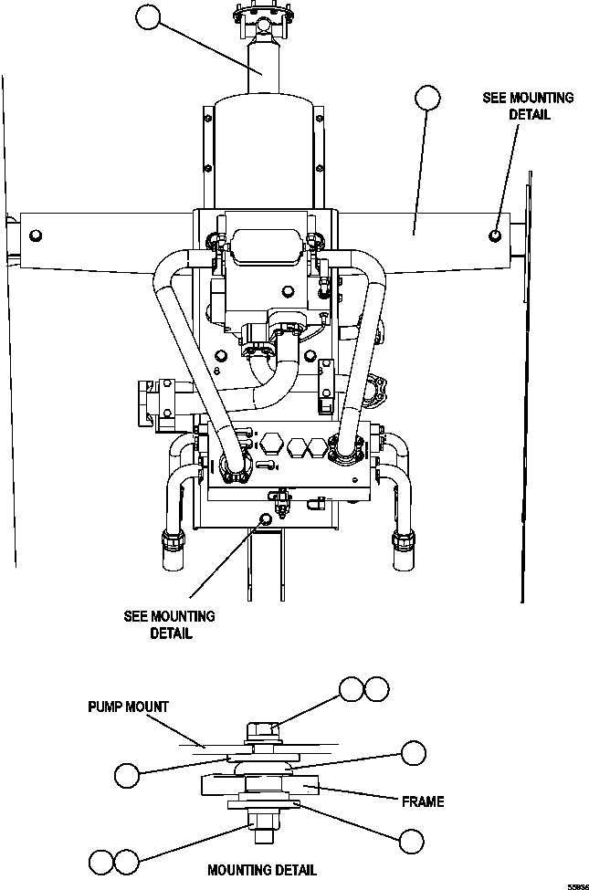
| ? | PC0184 | DRIVE SHAFT ASSEMBLY (SEE FIG 55350) | 1 | 55350 | |||
| ? | EJ1015 | MOUNT, PUMP & VALVE | 1 | ||||
| ? | C1637 | CAPSCREW - 5/8" - 11NC X 3 3/4" | 3 | ||||
| ? | WA0361 | FLAT WASHER - 5/8" | 3 | ||||
| ? | VG7000 | MOUNT, CENTER BONDED | 3 | ||||
| ? | TD5915 | WASHER | 6 | ||||
| ? | C1525 | NUT - 5/8" - 11NC | 3 | ||||
| ? | C1541 | LOCKWASHER - 5/8" | 3 |