k-part
Номер на схеме Каталожный номер Название Количество Детали
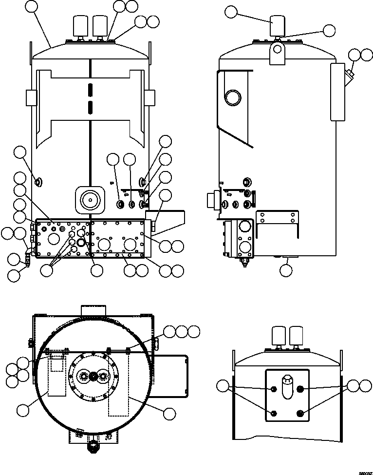
? EL9332 HYDRAULIC TANK W/ COVERS 1
? EK5035 • COVER, TOP 1
? PB0699 • GASKET 1
? MM0042 • CAPSCREW - M10 X 1.50 X 25 12
? MM0471 • LOCKWASHER - M10 12
? C5772 • PLUG, PIPE - 1" 2
? C5771 • PLUG, PIPE - 1/2" 2
? R2028 • PLUG, PIPE 2
? VM0322 • PLUG, BOSS - 2" 1
? R2491 • PLUG, DRAIN (MAGNETIC) 1
? TB0623 • PLUG, CAP 1
? VL4534 • O-RING 1
? VM0320 PLUG, BOSS - 1 1/4" 1
? VM0319 PLUG, BOSS - 1" 3
? PB5557 ADAPTER, FILTER 2
? DA5893 GAUGE, SIGHT 2
? TH5604 O-RING 2
? WA4409 PETCOCK 2
? PB5526 STRAINER 1
? MM0039 CAPSCREW - M12 X 1.75 X 35 4
? MM0714 FLAT WASHER - M12 8
? MM0472 LOCKWASHER - M12 8
? EK4316 PLATE, COVER (SUPPLY) 1
? EC2275 GASKET 1
? MM0050 CAPSCREW - M10 X 1.50 X 35 5
? MM0073 CAPSCREW - M10 X 1.50 X 60 25
? MM0471 LOCKWASHER - M10 30
? EM1157 PLATE, COVER (RETURN) 1
? EM1158 GASKET 1
? E2579 NIPPLE, CLOSE 1
? F4037 FITTING, PIPE 1
? TF6957 COCK, DRAIN 1
? C5771 PLUG, PIPE - 1/2" 1
? PB8070 DIFFUSER 1
? TY7922 FLANGE 1
? MM0032 CAPSCREW - M12 X 1.75 X 30 4
? PB5556 FILTER, SPIN-ON 2

Dump Trucks Komatsu / AFE47-GW 730E S/N A30651 - A30655 & A30659 - A30668  OCP(AFE47-GW) / HYDRAULIC TANK ASSEMBLY(394 : 56009)
?
?
?
?
?
?
?
?
?
?
?
?
?
?
?
?
?
?
?
?
?
?
?
?
?
?
?
?
?
?
?
?
?
?
?
?
?
?
?
?
?
?
?
?
?