k-part
Номер на схеме Каталожный номер Название Количество Детали
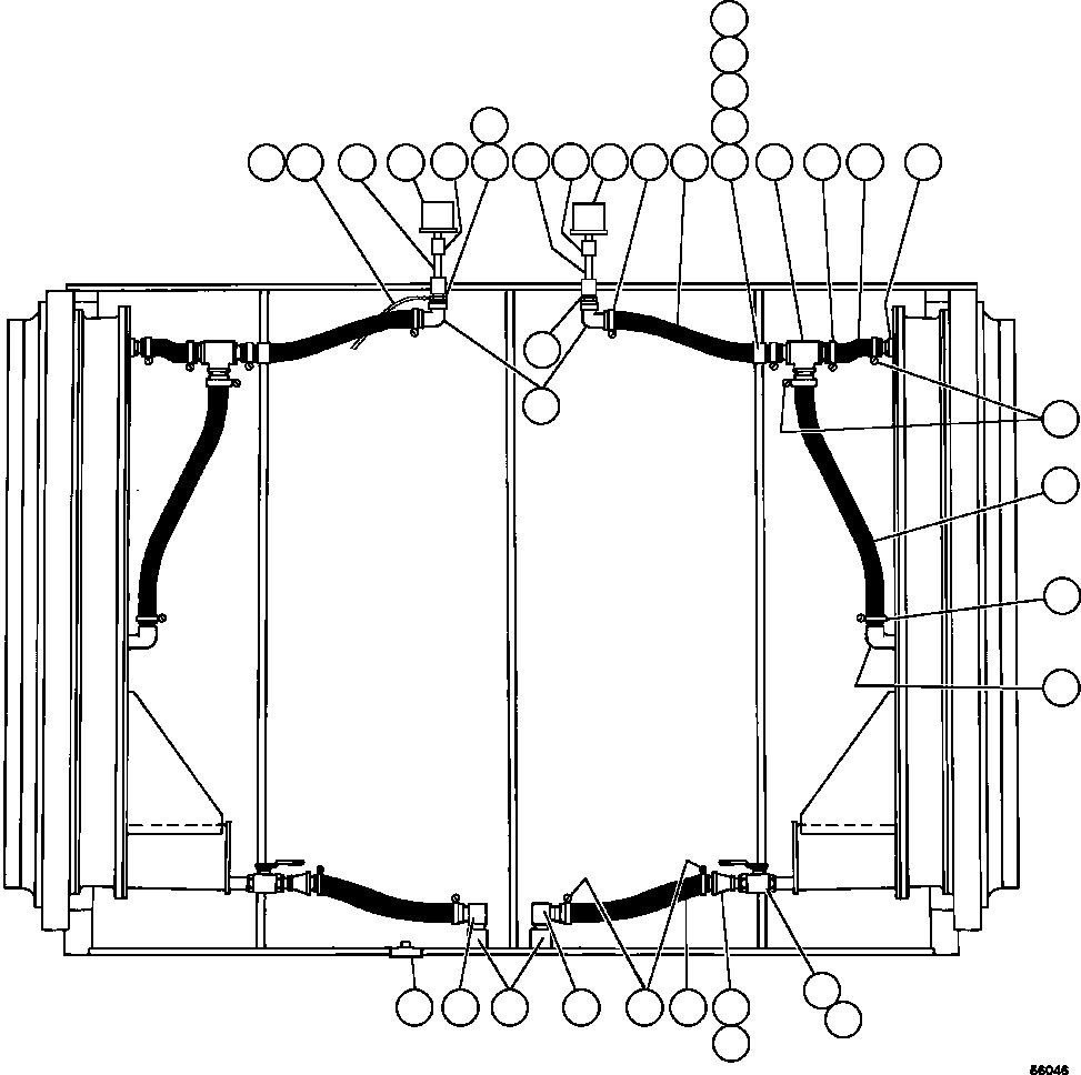
? PB4928 BREATHER 2
? WA2344 FITTING, PIPE 2
? WA3480 ELBOW - 90 DEG 2
? CD9707 CLAMP, WORM DRIVE 16
? TY8064 HOSE 2
? WB3094 CLAMP, CUSHION - 1 3/4" 2
? MM0642 STUD, WELD - M8 X 25 2
? MM0470 LOCKWASHER - M8 2
? MM0460 FLAT WASHER - M8 2
? MM0177 NUT - M8 X 1.25 2
? WA4123 CONNECTOR, TEE 2
? TY8063 HOSE 2
? TY8065 HOSE 2
? WA3592 STEM, HOSE - 90 DEG 2
? TK6817 HOSE 2
? D1423 PLUG, PIPE 2
? C1034 PLUG, PIPE 1
? WA3592 STEM, HOSE - 90 DEG 2
? DH3095 FITTING, PIPE 2
? PB2306 VALVE, SHUT-OFF 2
? DC3418 NIPPLE, LONG 2
? WA4681 FITTING, STRAIGHT 4
? DC0859 COUPLING, PIPE 2
? DL2566 NIPPLE, LONG 2
? EH4348 ADAPTER 1
? EJ5442 TUBE, NYLON (TO BLOWER LOSS SWITCH) 1
? TA0603 FITTING, NYLON 1

Dump Trucks Komatsu / AFE47-GT 730E S/N A30643 - A30645 & A30650   ORAPA(AFE47-GT) / WHEEL MOTOR PIPING(108 : 56046)
?
?
?
?
?
?
?
?
?
?
?
?
?
?
?
?
?
?
?
?
?
?
?
?
?
?
?
?
?
?
?
?
?
?
?
?
?