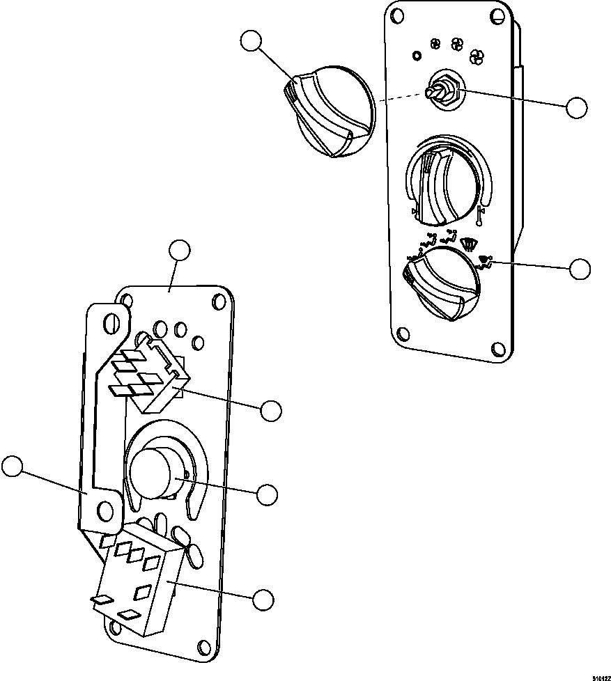
Найти k-part Содержание Dump Trucks Komatsu AFE47-GT 730E S/N A30643 - A30645 & A30650 ORAPA(AFE47-GT) CONTROL PANEL SWITCH EL5676(210 : 51012) Номер на схеме Каталожный номер Название Количество Детали ? XA4474 KNOB, CONTROL 3 ? XA4476 NUT - 7/16" - 28NF 3 ? XA4475 LABEL, CONTROL PANEL 1 ? XA4477 PANEL, CONROL 1 ? XA4480 SWITCH, 3 SPEED ROTARY 1 ? XA4478 RESISTOR, VARIABLE 1 ? XA4479 SWITCH, ROTARY (W/ NUTS) 1 ? XA4481 BRACKET, LAMP 1 ? ? ? ? ? ? ? ?