k-part
Номер на схеме Каталожный номер Название Количество Детали
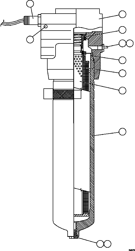
? PB6770 COUPLING, MALE QUICK DISCONNECT 1
? 162144 • CAP, DUST 1
? PB5862 • COUPLING, MALE QUICK DISCONNECT 1
? XA5166 PRESSURE SWITCH ASSEMBLY 1
? PC2916 HYDRAULIC FILTER ASSEMBLY 1
? BF2716 • HEAD, FILTER 1
? TF5194 • O-RING 1
? WA0100 • O-RING 1
? AK3572 • ELEMENT, FILTER 1
? BF2215 • CORE KIT 1
? BF2213 • BOWL 1
? VE4463 • PLUG, DRAIN 1
? TL3995 • O-RING 1
? BF2214 • ADAPTER 1
? BF2218 SET SCREW 1

Dump Trucks Komatsu / AFE47-GP 730E S/N A30628 - A30629 & A30632   KUMBA KOLOMELA(AFE47-GP) / HYDRAULIC FILTER - STEERING      XB4604(496 : 56079)
?
?
?
?
?
?
?
?
?
?
?
?