k-part
Наименование Страница Код страницы
HOIST PUMP ASSEMBLY PB9668 424 55006
ALTERNATOR - 22M2 1/7 PC2665 638 64357

Номер на схеме Каталожный номер Название Количество Детали
? PC2665 ALTERNATOR/BLOWER ASSEMBLY (SEE INDEX) 1 64357
? SG7814 CAPSCREW - 3/8" - 24NF X 1 1/4" 8
? (NOT USED IN THIS APPLICATION)
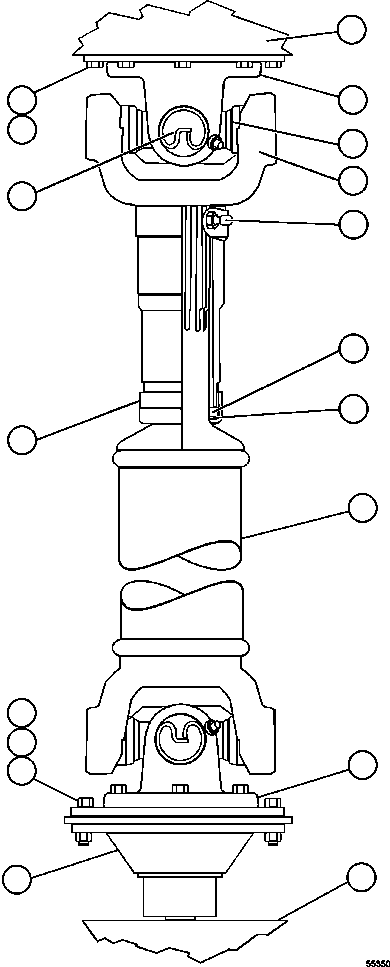
? PC0184 DRIVE SHAFT ASSEMBLY 1
? VE3436 • FLANGE 2
? VE3438 • CROSS ASSEMBLY (1) 2
? VE3437 • CROSS, BEARING 8
? VE3439 • RING, RETAINING (1) 8
? • • CAP, BEARING (NOT SERVICED SEPARATELY) (1) 8
? 70653 • YOKE ASSEMBLY 1
? TH7435 • FITTING, GREASE (1) 2
? 70657 • CAP (2) 1
? 70655 • RETAINER (2) 1
? 53890V • WASHER (2) 1
? VN9037 CAPSCREW - 3/8" - 16NC X 1 1/4" 8
? WA0386 NUT - 3/8" - 16NC 8
? PB7940 FLANGE, COMPANION 1
? PB9668 HOIST PUMP ASSEMBLY (SEE INDEX) 1 55006
? VE7350 NOTE: (1) INCLUDED IN VE7350 CROSS & BEARING KIT.
? 1216225H1 (2) INCLUDED IN 1216225H1 DUST CAP KIT.

Dump Trucks Komatsu / AFE47-GP 730E S/N A30628 - A30629 & A30632   KUMBA KOLOMELA(AFE47-GP) / DRIVE SHAFT INSTALLATION(428 : 55350)
?
?
?
?
?
?
?
?
?
?
?
?
?
?
?
?
?
?