k-part
Номер на схеме Каталожный номер Название Количество Детали
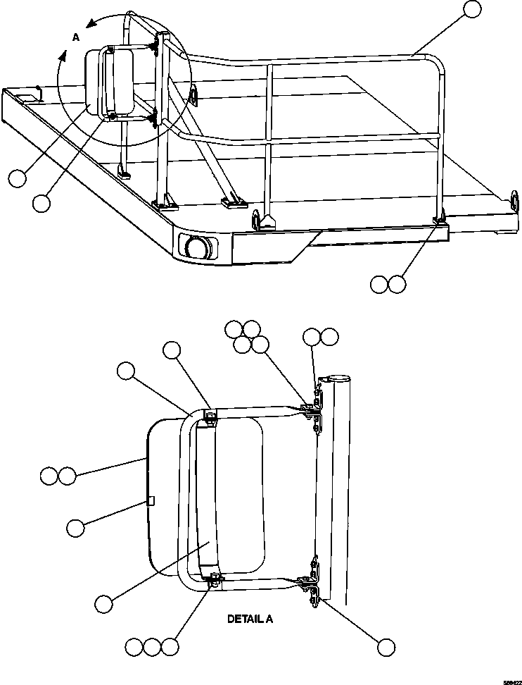
? EM1967 HANDRAIL, FRONT - RH 1
? VC1387 CAPSCREW - 1/2" - 13NC X 1" 14
? WA4728 FLAT WASHER - 1/2" 14
? PB7490 ARM BOW ASSEMBLY - RH 1
? VE5449 • BOW, ARM 1
? C1603 • CAPSCREW - 3/8" - 16NC X 1 1/4" 4
? VE5451 • WASHER, FIBER - 25/64" x 7/8" 4
? VE5453 • CLAMP 2
? VE5454 • MOUNTING ANGLE 4
? PB7491 CONVEX MIRROR ASSEMBLY - RH 1
? VE5448 • BACK ASSEMBLY 1
? VE5445 • MIRROR, CONVEX GLASS 1
? VE5447 • TRIM, PINCHWELT 1
? VE5446 • SPRING, CLIP 1
? WA4726 FLAT WASHER - 3/8" 8
? HE5611 LOCKNUT - 3/8" - 16NC 4
? MM0592 CAPSCREW - M8 X 1.25 X 16 8
? MM0470 LOCKWASHER - M8 8

Dump Trucks Komatsu / AFE47-GD 730E S/N A30585-A30588, A30592-A30593, A30597-A30599     BAYOVAR(AFE47-GD) / RH DECK HANDRAILS & MIRROR(016 : 55842)
?
?
?
?
?
?
?
?
?
?
?
?
?
?
?
?
?
?
?
?
?