| Номер на схеме | Каталожный номер | Название | Количество | Детали | |||
|---|---|---|---|---|---|---|---|
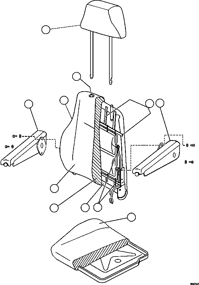
| ? | XA4003 | HEADREST | 1 | ||||
| ? | XA4009 | • FRAME | 1 | ||||
| ? | VE8737 | FERREL (1) | 2 | ||||
| ? | VE8728 | KIT, ARMREST - RH (2) | 1 | ||||
| ? | VE4592 | • ARMREST - RH | 1 | ||||
| ? | VE8726 | • KNOB | 1 | ||||
| ? | • KIT, HARDWARE (3) | 1 | |||||
| ? | VE8727 | KIT, ARMREST - LH (2) | 1 | ||||
| ? | VE4591 | • ARMREST - LH | 1 | ||||
| ? | VE8726 | • KNOB | 1 | ||||
| ? | • KIT, HARDWARE (3) | 1 | |||||
| ? | XA4004 | BACKREST ASSEMBLY | 1 | ||||
| ? | XA4010 | • FRAME | 1 | ||||
| ? | VE4567 | • FOAM | 1 | ||||
| ? | XA4011 | • COVER | 1 | ||||
| ? | VE8735 | • KIT, AIR LUMBAR | 1 | ||||
| ? | • • BAG, AIR LUMBAR (3) | 1 | |||||
| ? | • • KIT, PLASTIC PARTS (1) | 1 | |||||
| ? | LA0335 | • KIT, HARDWARE | 1 | ||||
| ? | XA4005 | SEAT PAN ASSEMBLY | 1 | ||||
| ? | XA0126 | • SEAT PAN | 1 | ||||
| ? | BF0417 | • FOAM | 1 | ||||
| ? | XA4012 | • COVER | 1 | ||||
| ? | BF0420 | • KIT, CLIP | 1 | ||||
| ? | LA0338 | KIT, HARDWARE | 1 | ||||
| ? | NOTE: (1) INCLUDED IN XA4004 BACKREST ASSEMBLY. | ||||||
| ? | (2) INCLUDED IN VE4557 ARMREST SET. | ||||||
| ? | (3) NOT SERVICED SEPARATELY. | ||||||
| ? | (SEE FOLLOWING PAGES FOR BALANCE OF PARTS.) |