| Номер на схеме | Каталожный номер | Название | Количество | Детали | |||
|---|---|---|---|---|---|---|---|
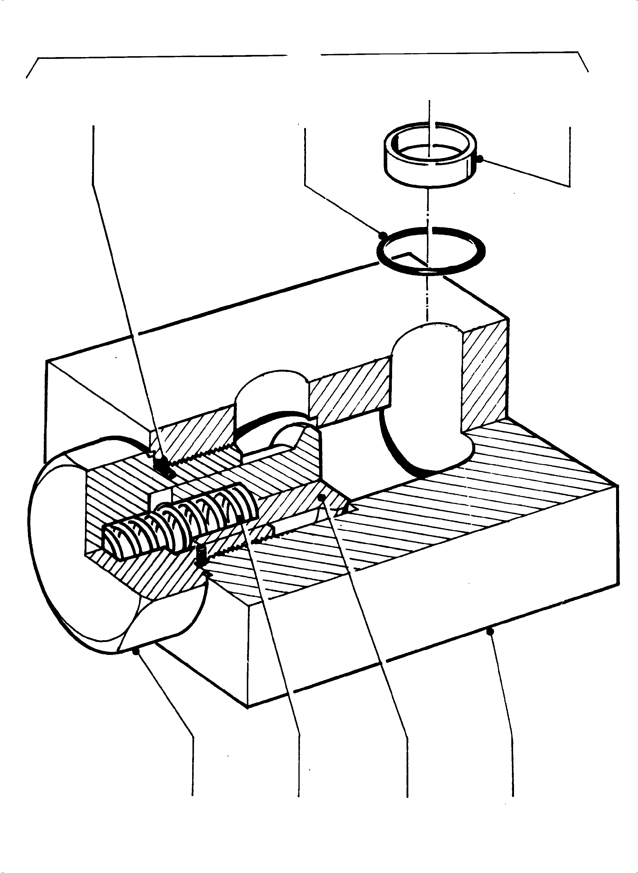
| ? | 256 164 40 | Anticavitation valve assy. NG 20 | 1 | EnglischBem: DeutschBem: DeutschDesc: Nachsaugventil kpl. NG 20 InternBDB: InternKon: SerienBem: Zwhead_Deu: Zwhead_Eng: |
|||
| ? | 501 245 98 | O-ring | 1 | EnglischBem: DeutschBem: DeutschDesc: O-Ring InternBDB: InternKon: SerienBem: Zwhead_Deu: Zwhead_Eng: |
|||
| ? | 367 124 99 | O-ring | 2 | EnglischBem: DeutschBem: DeutschDesc: O-Ring InternBDB: InternKon: SerienBem: Zwhead_Deu: Zwhead_Eng: |
|||
| ? | 690 996 | Support ring | 2 | EnglischBem: DeutschBem: DeutschDesc: Stьtzring InternBDB: InternKon: SerienBem: Zwhead_Deu: Zwhead_Eng: |
|||
| ? | Housing | 1 | EnglischBem: DeutschBem: DeutschDesc: Gehдuse InternBDB: InternKon: SerienBem: Zwhead_Deu: Zwhead_Eng: |
||||
| ? | Valve cone | 1 | EnglischBem: DeutschBem: DeutschDesc: Ventilkegel InternBDB: InternKon: SerienBem: Zwhead_Deu: Zwhead_Eng: |
||||
| ? | 994 889 | Compression spring | 1 | EnglischBem: DeutschBem: DeutschDesc: Druckfeder InternBDB: InternKon: SerienBem: Zwhead_Deu: Zwhead_Eng: |
|||
| ? | 994 890 | Plug | 1 | EnglischBem: DeutschBem: DeutschDesc: VerschluЯschraube InternBDB: InternKon: SerienBem: Zwhead_Deu: Zwhead_Eng: |
|||
| ? | 994 841 | Seal kit fig-nos: 02-04 | 1 | EnglischBem: DeutschBem: DeutschDesc: Dichtsatz Bild-Nr. 02-04 InternBDB: InternKon: SerienBem: Zwhead_Deu: Zwhead_Eng: |