k-part
Наименование Страница Код страницы
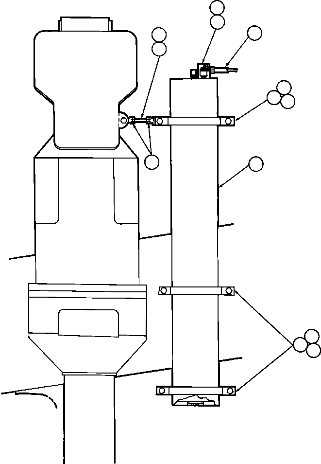
ACCUMULATOR ASSEMBLY (TY3541) 108 14452

Номер на схеме Каталожный номер Название Количество Детали
? TY8660 ROD, THREADED 1
? VC3040 JAM NUT - 3/4" - 16NF 2
? TN6999 COVER 1
? PB7062 SWITCH, PRESSURE 1
? CABLE (TO INSTRUMENT PANEL) 1
? WA1606 ROD END 2
? VF8334 CAPSCREW - 3/4" - 10NC X 2 3/4" 7
? VL2993 LOCKNUT - 3/4" - 10NC 7
? TY8653 STRAP 4
? TY3541 ACCUMULATOR ASSM (SEE INDEX) 1 14452

Dump Trucks Komatsu / AFE32-Q 830E S/N 31662-31663 & 31692-31693  COAL & ALLIED(afe32-q) / STEERING ACCUMULATOR INSTALLATION(106 : 14754)
?
?
?
?
?
?
?
?
?
?
?
?
?