| Номер на схеме | Каталожный номер | Название | Количество | Детали | |||
|---|---|---|---|---|---|---|---|
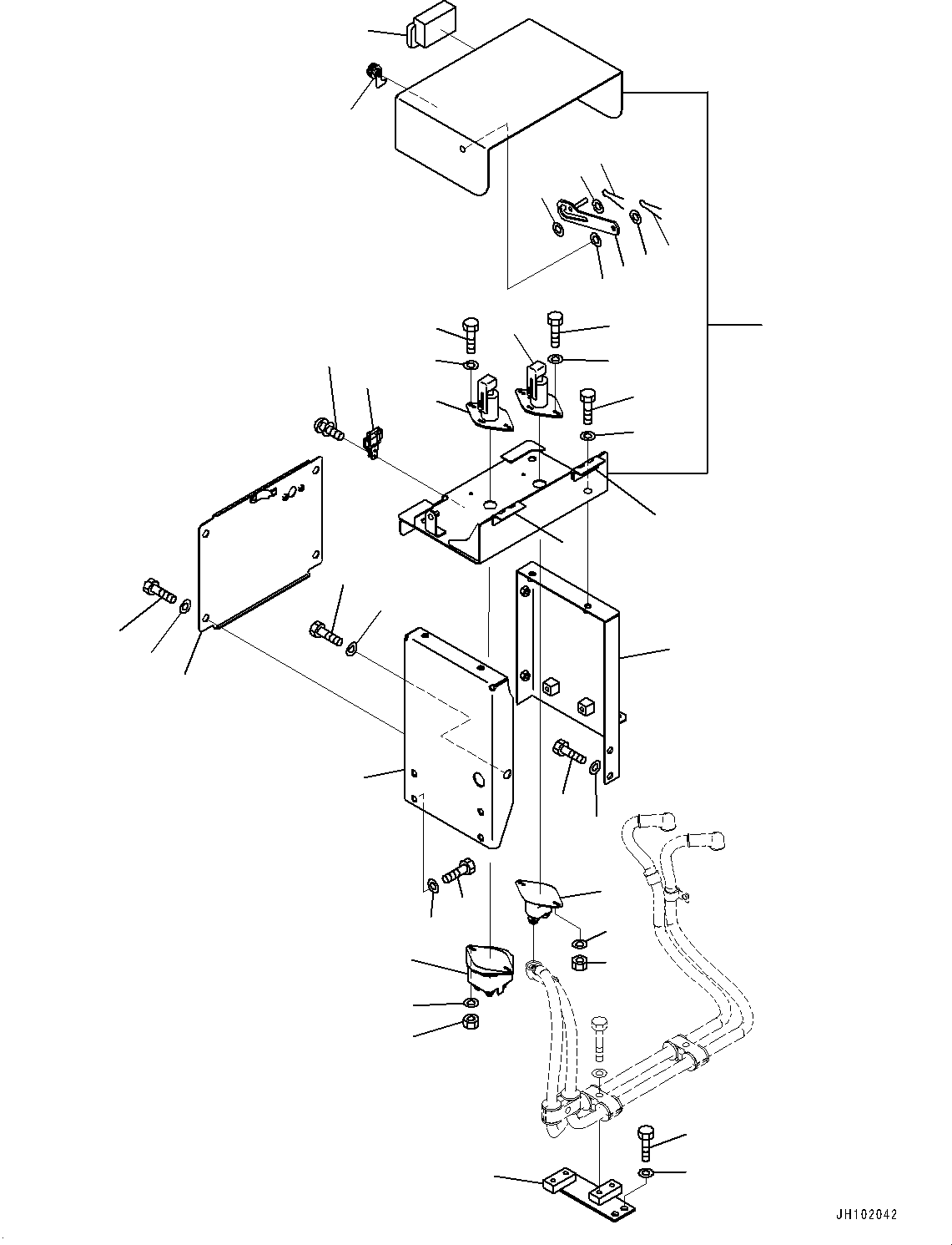
| ? | 21T-06-31110 | Case Assembly | 1 | SN: 30001- KIT-FLAG: _- SCC: SERIALNO: 30001- |
|||
| ? | • Case | 1 | SN: 30001- KIT-FLAG: _- SCC: C1 SERIALNO: 30001- |
||||
| ? | 09455-13016 | • • Hinge, Welded | 2 | SN: 30001- KIT-FLAG: _- SCC: SERIALNO: 30001- |
|||
| ? | 21T-53-31930 | • Lock Assembly | 1 | SN: 30001- KIT-FLAG: _- SCC: SERIALNO: 30001- |
|||
| ? | 195-57-11530 | • Catch | 1 | SN: 30001- KIT-FLAG: _- SCC: SERIALNO: 30001- |
|||
| ? | 01023-10510 | • Screw | 3 | SN: 30001- KIT-FLAG: _- SCC: SERIALNO: 30001- |
|||
| ? | 209-54-12280 | • Handle | 1 | SN: 30001- KIT-FLAG: _- SCC: SERIALNO: 30001- |
|||
| ? | 21T-06-35211 | • Plate | 1 | SN: 30001- KIT-FLAG: _- SCC: SERIALNO: 30001- |
|||
| ? | 01640-21016 | • Washer | 4 | SN: 30001- KIT-FLAG: _- SCC: SERIALNO: 30001- |
|||
| ? | 04050-13020 | • Pin, Cotter | 2 | SN: 30001- KIT-FLAG: _- SCC: SERIALNO: 30001- |
|||
| ? | 01010-81230 | Bolt | 4 | SN: 30001- KIT-FLAG: _- SCC: SERIALNO: 30001- |
|||
| ? | 01643-31232 | Washer | 4 | SN: 30001- KIT-FLAG: _- SCC: SERIALNO: 30001- |
|||
| ? | 198-06-73171 | Isolator | 1 | SN: 30001- KIT-FLAG: _- SCC: SERIALNO: 30001- |
|||
| ? | 01010-80625 | Bolt | 2 | SN: 30001- KIT-FLAG: _- SCC: SERIALNO: 30001- |
|||
| ? | 01643-30623 | Washer | 2 | SN: 30001- KIT-FLAG: _- SCC: SERIALNO: 30001- |
|||
| ? | 01643-30623 | Washer | 2 | SN: 30001- KIT-FLAG: _- SCC: SERIALNO: 30001- |
|||
| ? | 01580-10605 | Nut | 2 | SN: 30001- KIT-FLAG: _- SCC: SERIALNO: 30001- |
|||
| ? | 198-06-73180 | Isolator | 1 | SN: 30001- KIT-FLAG: _- SCC: SERIALNO: 30001- |
|||
| ? | 01010-80625 | Bolt | 2 | SN: 30001- KIT-FLAG: _- SCC: SERIALNO: 30001- |
|||
| ? | 01643-30623 | Washer | 2 | SN: 30001- KIT-FLAG: _- SCC: SERIALNO: 30001- |
|||
| ? | 01643-30623 | Washer | 2 | SN: 30001- KIT-FLAG: _- SCC: SERIALNO: 30001- |
|||
| ? | 01580-10605 | Nut | 2 | SN: 30001- KIT-FLAG: _- SCC: SERIALNO: 30001- |
|||
| ? | 21T-06-34811 | Plate | 1 | SN: 30001- KIT-FLAG: _- SCC: SERIALNO: 30001- |
|||
| ? | 01010-81225 | Bolt | 2 | SN: 30001- KIT-FLAG: _- SCC: SERIALNO: 30001- |
|||
| ? | 01643-31232 | Washer | 2 | SN: 30001- KIT-FLAG: _- SCC: SERIALNO: 30001- |
|||
| ? | 21T-06-43160 | Bracket | 1 | SN: 30001- KIT-FLAG: _- SCC: SERIALNO: 30001- |
|||
| ? | 01010-81230 | Bolt | 5 | SN: 30001- KIT-FLAG: _- SCC: SERIALNO: 30001- |
|||
| ? | 01643-31232 | Washer | 5 | SN: 30001- KIT-FLAG: _- SCC: SERIALNO: 30001- |
|||
| ? | 21T-06-43170 | Bracket | 1 | SN: 30001- KIT-FLAG: _- SCC: SERIALNO: 30001- |
|||
| ? | 01010-81225 | Bolt | 4 | SN: 30001- KIT-FLAG: _- SCC: SERIALNO: 30001- |
|||
| ? | 01643-31232 | Washer | 4 | SN: 30001- KIT-FLAG: _- SCC: SERIALNO: 30001- |
|||
| ? | 21T-06-31290 | Bracket | 1 | SN: 30001- KIT-FLAG: _- SCC: SERIALNO: 30001- |
|||
| ? | 01010-81225 | Bolt | 2 | SN: 30001- KIT-FLAG: _- SCC: SERIALNO: 30001- |
|||
| ? | 01643-31232 | Washer | 2 | SN: 30001- KIT-FLAG: _- SCC: SERIALNO: 30001- |