k-part
Номер на схеме Каталожный номер Название Количество Детали
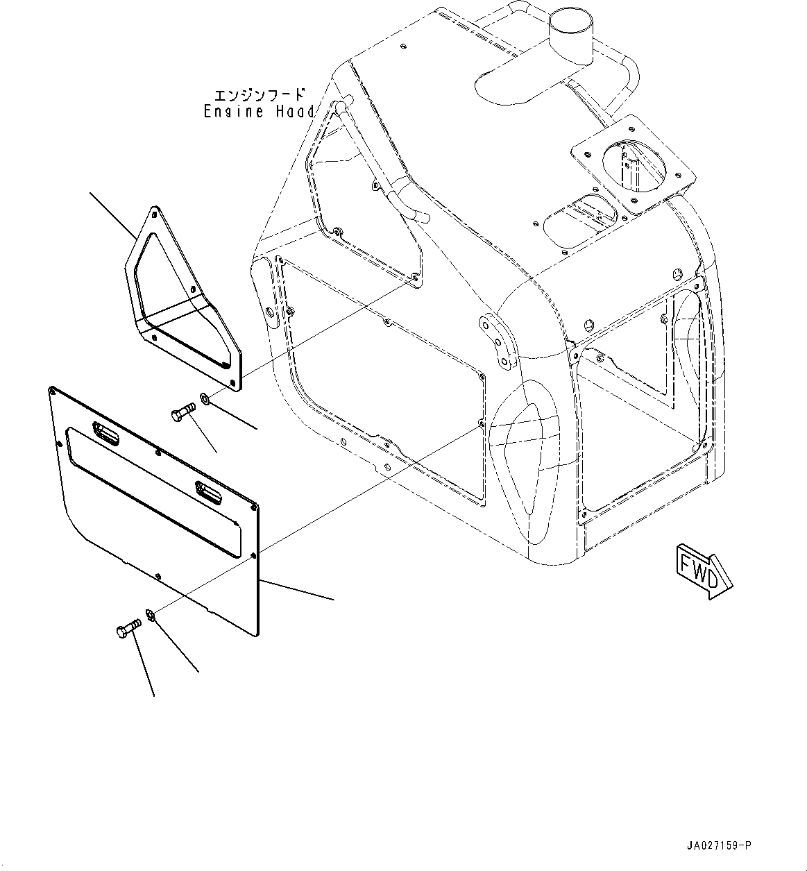
? 12Y-54-31151 Cover 1
SN: 10001-
KIT-FLAG: _-
SCC:
SERIALNO: 10001-
? 01010-81225 Bolt 4
SN: 10001-
KIT-FLAG: _-
SCC:
SERIALNO: 10001-
? 01643-31232 Washer 4
SN: 10001-
KIT-FLAG: _-
SCC:
SERIALNO: 10001-
? 12Y-54-31141 Cover 1
SN: 10001-
KIT-FLAG: _-
SCC:
SERIALNO: 10001-
? 01010-81225 Bolt 6
SN: 10001-
KIT-FLAG: _-
SCC:
SERIALNO: 10001-
? 01643-31232 Washer 6
SN: 10001-
KIT-FLAG: _-
SCC:
SERIALNO: 10001-

Bulldozers Komatsu / D51PX-24 S/N 10001-UP(0001120C) / Engine Hood, Cover, R.H. (#10001-)(M002005 : M2141-001005)
?
?
?
?
?
?