| Номер на схеме | Каталожный номер | Название | Количество | Детали | |||
|---|---|---|---|---|---|---|---|
| ? | 723-47-30102 | Valve, Control | 1 | SN: 501287- KIT-FLAG: _- SCC: SERIALNO: 501287- |
|||
| ? | 723-47-30101 | Valve, Control | 1 | SN: 500566-501286 KIT-FLAG: _- SCC: A2 SERIALNO: 500566-501286 |
|||
| ? | 723-47-30100 | Valve, Control | 1 | SN: 500470-500565 KIT-FLAG: _- SCC: A2 SERIALNO: 500470-500565 |
|||
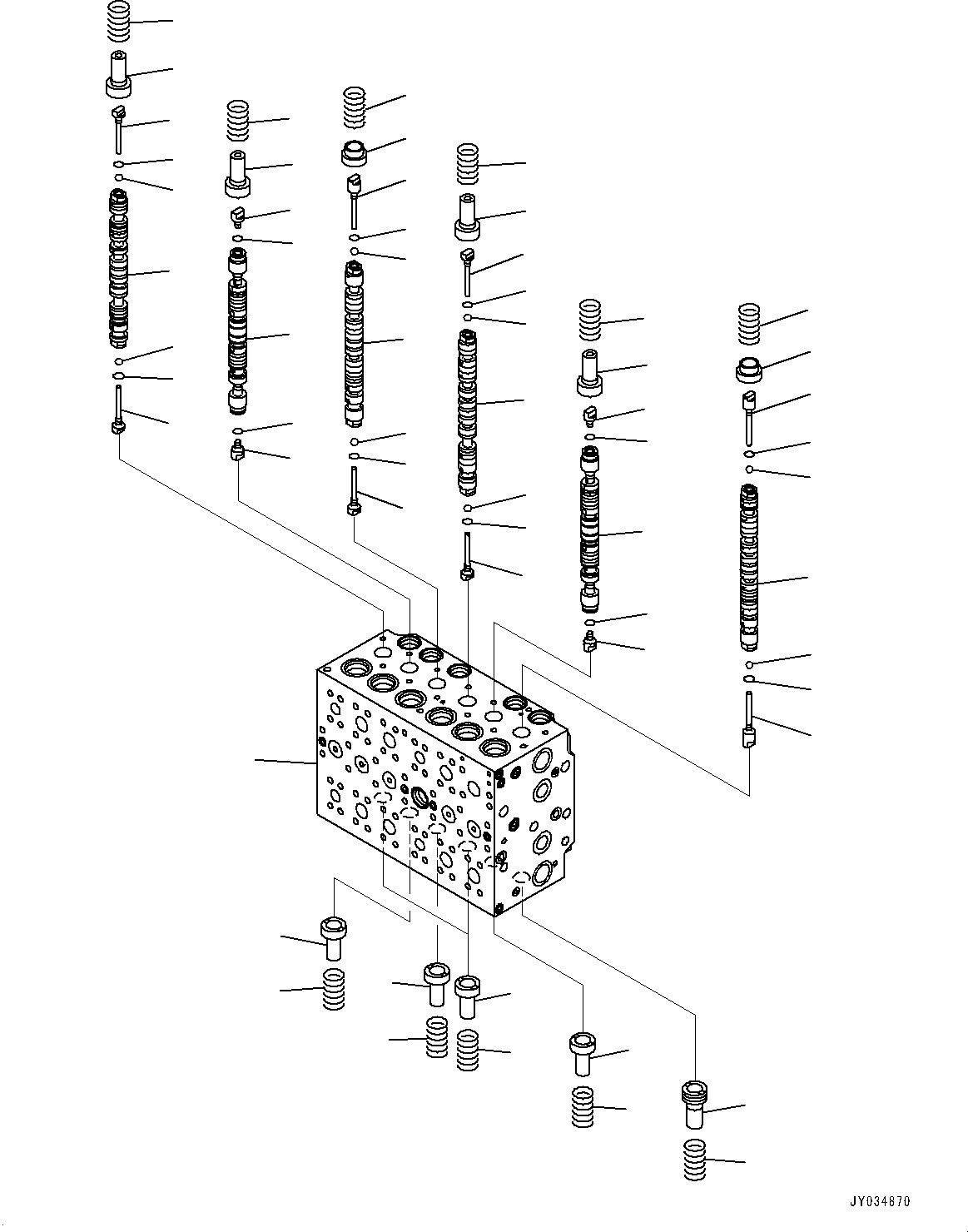
| ? | 723-46-01671 | • Body Subassembly | 1 | SN: 500566- KIT-FLAG: _- SCC: SERIALNO: 500566- |
|||
| ? | • Body Subassembly | 1 | SN: 500470-500565 KIT-FLAG: _- SCC: C1 SERIALNO: 500470-500565 |
||||
| ? | • • Valve Body | 1 | SN: 500470- KIT-FLAG: _- SCC: C1 SERIALNO: 500470- |
||||
| ? | • • Spool | 1 | SN: 500470- KIT-FLAG: _- SCC: C1 SERIALNO: 500470- |
||||
| ? | • • Spool | 1 | SN: 500470- KIT-FLAG: _- SCC: C1 SERIALNO: 500470- |
||||
| ? | • • Spool | 1 | SN: 500470- KIT-FLAG: _- SCC: C1 SERIALNO: 500470- |
||||
| ? | • • Spool | 1 | SN: 500470- KIT-FLAG: _- SCC: C1 SERIALNO: 500470- |
||||
| ? | • • Spool | 1 | SN: 500470- KIT-FLAG: _- SCC: C1 SERIALNO: 500470- |
||||
| ? | • • Spool | 1 | SN: 500470- KIT-FLAG: _- SCC: C1 SERIALNO: 500470- |
||||
| ? | 723-46-15130 | • • Plug | 5 | SN: 500470- KIT-FLAG: _- SCC: SERIALNO: 500470- |
|||
| ? | 723-46-15140 | • • Plug | 4 | SN: 500470- KIT-FLAG: _- SCC: SERIALNO: 500470- |
|||
| ? | 723-46-15650 | • • Plug | 1 | SN: 500470- KIT-FLAG: _- SCC: SERIALNO: 500470- |
|||
| ? | 723-46-17190 | • • Plug | 2 | SN: 500470- KIT-FLAG: _- SCC: SERIALNO: 500470- |
|||
| ? | 07002-10823 | • • O-ring | 12 | SN: 500470- KIT-FLAG: _- SCC: SERIALNO: 500470- |
|||
| ? | 708-7T-16460 | • • Ball | 8 | SN: 500470- KIT-FLAG: _- SCC: SERIALNO: 500470- |
|||
| ? | 723-46-15120 | • • Retainer | 2 | SN: 500470- KIT-FLAG: _- SCC: SERIALNO: 500470- |
|||
| ? | 723-46-15690 | • • Retainer | 6 | SN: 500470- KIT-FLAG: _- SCC: SERIALNO: 500470- |
|||
| ? | 723-46-17230 | • • Retainer | 2 | SN: 500470- KIT-FLAG: _- SCC: SERIALNO: 500470- |
|||
| ? | 723-46-15950 | • • Retainer | 1 | SN: 500470- KIT-FLAG: _- SCC: SERIALNO: 500470- |
|||
| ? | 723-46-15880 | • • Retainer | 1 | SN: 500470- KIT-FLAG: _- SCC: SERIALNO: 500470- |
|||
| ? | 723-46-14110 | • • Spring | 6 | SN: 500470- KIT-FLAG: _- SCC: SERIALNO: 500470- |
|||
| ? | 723-46-14470 | • • Spring | 2 | SN: 500470- KIT-FLAG: _- SCC: SERIALNO: 500470- |
|||
| ? | 723-46-14280 | • • Spring | 1 | SN: 500470- KIT-FLAG: _- SCC: SERIALNO: 500470- |
|||
| ? | 723-46-14290 | • • Spring | 1 | SN: 500470- KIT-FLAG: _- SCC: SERIALNO: 500470- |
|||
| ? | 723-46-14460 | • • Spring | 2 | SN: 500470- KIT-FLAG: _- SCC: SERIALNO: 500470- |