| Номер на схеме | Каталожный номер | Название | Количество | Детали | |||
|---|---|---|---|---|---|---|---|
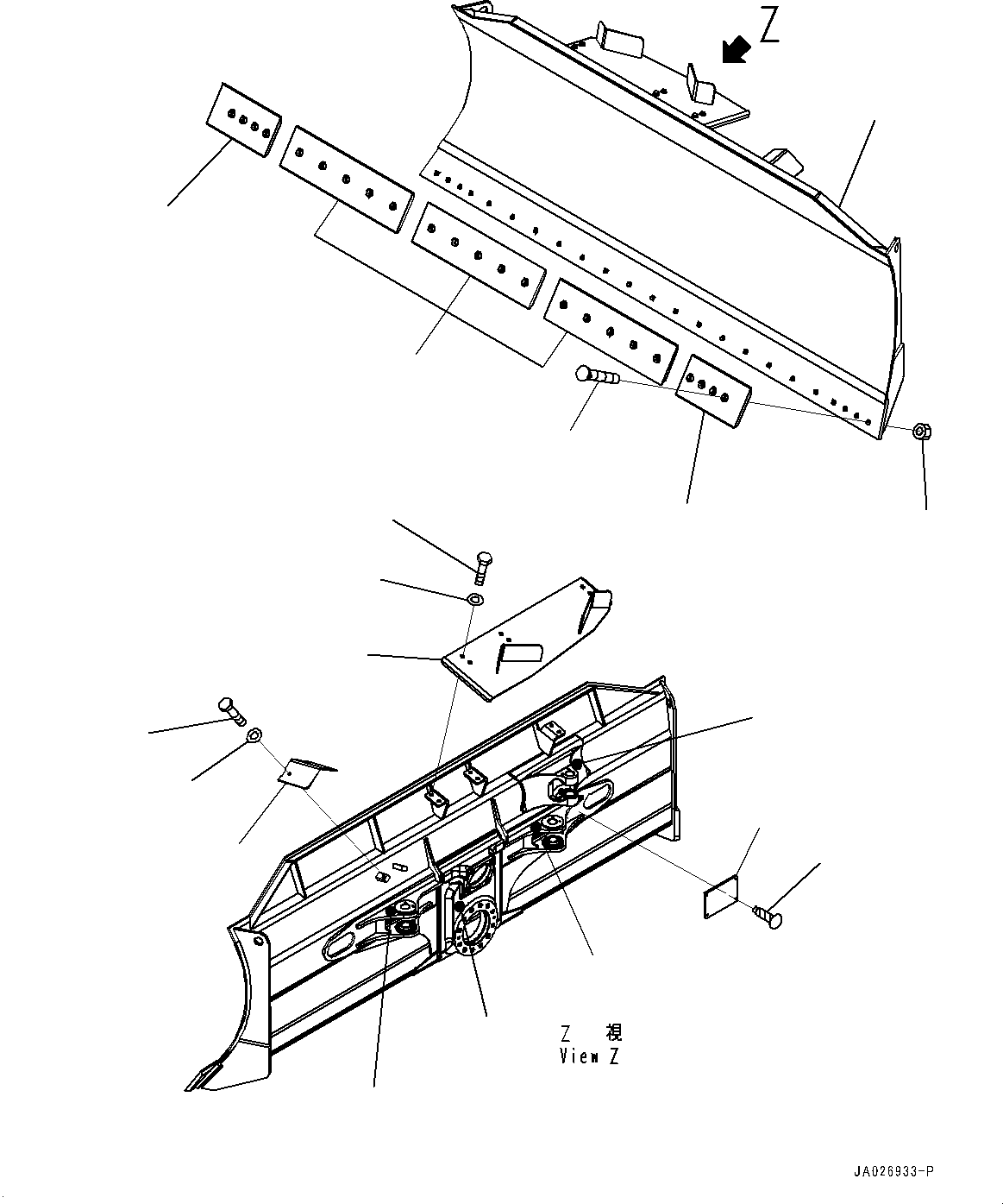
| ? | 01010-81235 | Bolt | 6 | SN: 10001- KIT-FLAG: _- SCC: SERIALNO: 10001- |
|||
| ? | 01643-31232 | Washer | 6 | SN: 10001- KIT-FLAG: _- SCC: SERIALNO: 10001- |
|||
| ? | 12Y-72-11324 | Cover | 1 | SN: 10001- KIT-FLAG: _- SCC: SERIALNO: 10001- |
|||
| ? | 12Y-72-33101 | Blade Assembly | 1 | SN: 10001- KIT-FLAG: _- SCC: SERIALNO: 10001- |
|||
| ? | 12Y-72-11123 | • Bracket, Welded | 1 | SN: 10001- KIT-FLAG: _- SCC: SERIALNO: 10001- |
|||
| ? | 12Y-72-11672 | • Bracket, Welded | 1 | SN: 10001- KIT-FLAG: _- SCC: SERIALNO: 10001- |
|||
| ? | 12Y-72-12220 | • Bracket, Welded | 1 | SN: 10001- KIT-FLAG: _- SCC: SERIALNO: 10001- |
|||
| ? | 12Y-72-32211 | • Bracket, Welded | 1 | SN: 10001- KIT-FLAG: _- SCC: SERIALNO: 10001- |
|||
| ? | (09601-50000) | Plate, Name (Limited Supply) | 1 | SN: 10001- KIT-FLAG: _- SCC: C2 SERIALNO: 10001- |
|||
| ? | 04418-13060 | Screw | 4 | SN: 10001- KIT-FLAG: _- SCC: SERIALNO: 10001- |
|||
| ? | 12Y-72-35121 | Plate | 1 | SN: 10001- KIT-FLAG: _- SCC: SERIALNO: 10001- |
|||
| ? | 01010-81235 | Bolt | 2 | SN: 10001- KIT-FLAG: _- SCC: SERIALNO: 10001- |
|||
| ? | 01643-31232 | Washer | 2 | SN: 10001- KIT-FLAG: _- SCC: SERIALNO: 10001- |
|||
| ? | 02090-11270 | Bolt | 23 | SN: 10001- KIT-FLAG: _- SCC: SERIALNO: 10001- |
|||
| ? | 02290-11219 | Nut | 23 | SN: 10001- KIT-FLAG: _- SCC: SERIALNO: 10001- |
|||
| ? | 12Y-72-11210 | End Bit | 2 | SN: 10001- KIT-FLAG: _- SCC: SERIALNO: 10001- |
|||
| ? | 12Y-72-11220 | Cutting Edge | 3 | SN: 10001- KIT-FLAG: _- SCC: SERIALNO: 10001- |