k-part
Номер на схеме Каталожный номер Название Количество Детали
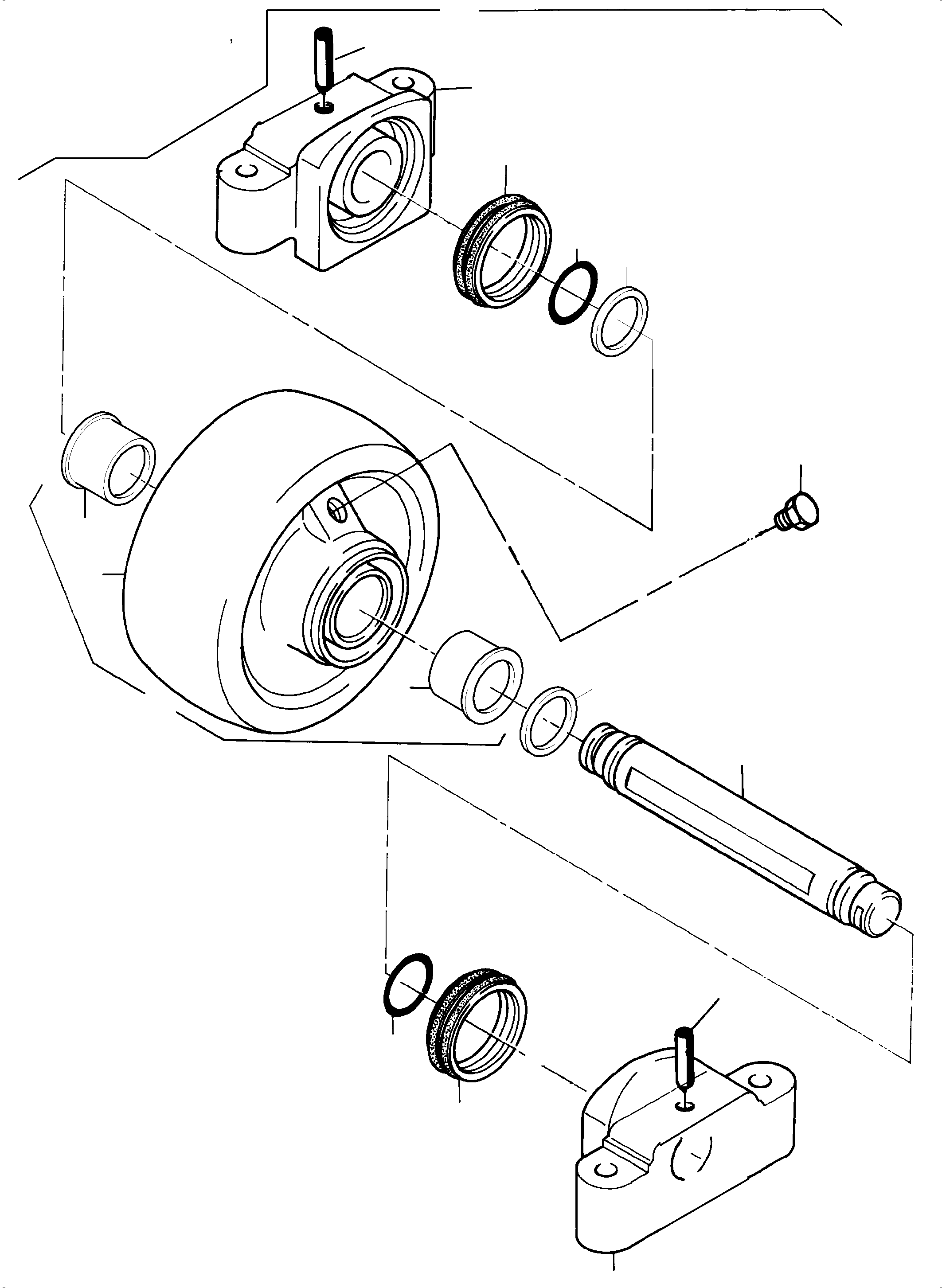
? 956 413 40 Top roller, assy., new design, pos. 01-08 1
EnglischBem:
DeutschBem:
DeutschDesc: Tragrolle, kpl., neues Design, Pos. 01-08
InternBDB:
InternKon:
SerienBem:
Zwhead_Deu:
Zwhead_Eng:
? 956 404 40 Top roller body with bush 1
EnglischBem:
DeutschBem:
DeutschDesc: Tragrollenkцrper mit Buchse
InternBDB:
InternKon:
SerienBem:
Zwhead_Deu:
Zwhead_Eng:
? 956 410 40 Roller bearing 2
EnglischBem:
DeutschBem:
DeutschDesc: Rollenlager
InternBDB:
InternKon:
SerienBem:
Zwhead_Deu:
Zwhead_Eng:
? 956 409 40 Axle 1
EnglischBem:
DeutschBem:
DeutschDesc: Achse
InternBDB:
InternKon:
SerienBem:
Zwhead_Deu:
Zwhead_Eng:
? 324 067 40 Lifetime seal 2
EnglischBem:
DeutschBem:
DeutschDesc: Gleitringdichtung
InternBDB:
InternKon:
SerienBem:
Zwhead_Deu:
Zwhead_Eng:
? 502 180 99 O-ring 2
EnglischBem:
DeutschBem:
DeutschDesc: O-Ring
InternBDB:
InternKon:
SerienBem:
Zwhead_Deu:
Zwhead_Eng:
? 345 968 99 Split sleeve 2
EnglischBem:
DeutschBem:
DeutschDesc: Spannhuelse
InternBDB:
InternKon:
SerienBem:
Zwhead_Deu:
Zwhead_Eng:
? 313 484 99 Plug 1
EnglischBem:
DeutschBem:
DeutschDesc: VerschluЯschraube
InternBDB:
InternKon:
SerienBem:
Zwhead_Deu:
Zwhead_Eng:
? 950 648 40 Stop washer 2
EnglischBem:
DeutschBem:
DeutschDesc: Anlaufscheibe
InternBDB:
InternKon:
SerienBem:
Zwhead_Deu:
Zwhead_Eng:
? 944 284 40 Top roller body 1
EnglischBem:
DeutschBem:
DeutschDesc: Tragrollenkцrper
InternBDB:
InternKon:
SerienBem:
Zwhead_Deu:
Zwhead_Eng:
? 950 645 40 Freeze-in bush 2
EnglischBem:
DeutschBem:
DeutschDesc: Frierbuchse
InternBDB:
InternKon:
SerienBem:
Zwhead_Deu:
Zwhead_Eng:
? 796 282 73 Seal kit fig-nos: 05,06 and 08 A/R
EnglischBem:
DeutschBem:
DeutschDesc: Dichtsatz Bild-Nr. 05,06 u. 08
InternBDB:
InternKon:
SerienBem:
Zwhead_Deu:
Zwhead_Eng:
? 906 299 40 Top roller is filled with oil A/R
EnglischBem:
DeutschBem:
DeutschDesc: Tragrolle ist цlgefьllt
InternBDB:
InternKon:
SerienBem:
Zwhead_Deu:
Zwhead_Eng:

Excavators Mining Komatsu / PC5500-6 S/N 15123(g15123) / Top Roller(515-3140d : 515-3140d)
?
?
?
?
?
?
?
?
?
?
?
?
?
?
?
?
?