k-part
Наименование Страница Код страницы
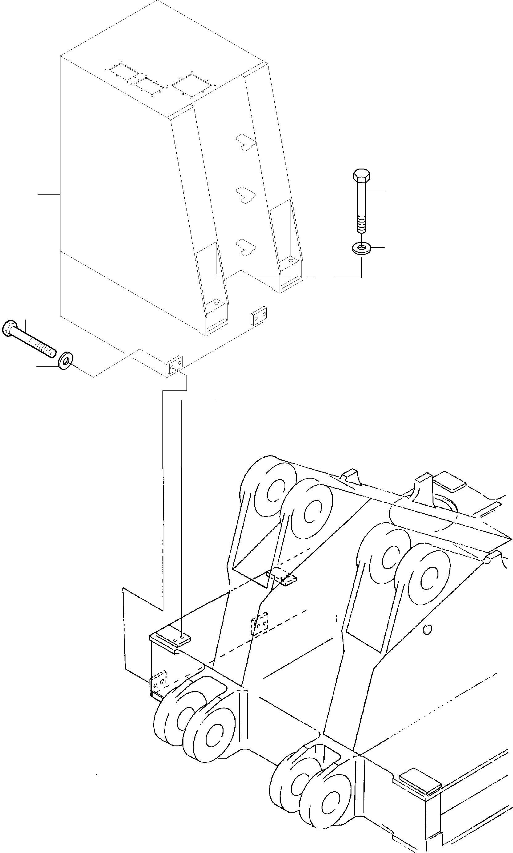
Cab Support 113-1902a 113-1902a

Номер на схеме Каталожный номер Название Количество Детали
? 518 589 98 Bolt (standard) 4
EnglischBem:
DeutschBem:
DeutschDesc: Schraube (Standard)
InternBDB:
InternKon:
SerienBem:
Zwhead_Deu:
Zwhead_Eng:
? 518 590 98 Bolt (cold weather design) 4
EnglischBem:
DeutschBem:
DeutschDesc: Schraube (Kaltzдh)
InternBDB:
InternKon:
SerienBem:
Zwhead_Deu:
Zwhead_Eng:
? 515 954 98 Bolt (standard) 6
EnglischBem:
DeutschBem:
DeutschDesc: Schraube (Standard)
InternBDB:
InternKon:
SerienBem:
Zwhead_Deu:
Zwhead_Eng:
? 517 246 98 Bolt (cold weather design) 6
EnglischBem:
DeutschBem:
DeutschDesc: Schraube (Kaltzдh)
InternBDB:
InternKon:
SerienBem:
Zwhead_Deu:
Zwhead_Eng:
? 255 056 40 Washer 10
EnglischBem:
DeutschBem:
DeutschDesc: Scheibe
InternBDB:
InternKon:
SerienBem:
Zwhead_Deu:
Zwhead_Eng:

Excavators Mining Komatsu / PC8000-6 S/N 12101(g12101) / Cab Support Mounting(113-1900f : 113-1900f)
?
?
?
?
?