| Наименование | Страница | Код страницы |
|---|---|---|
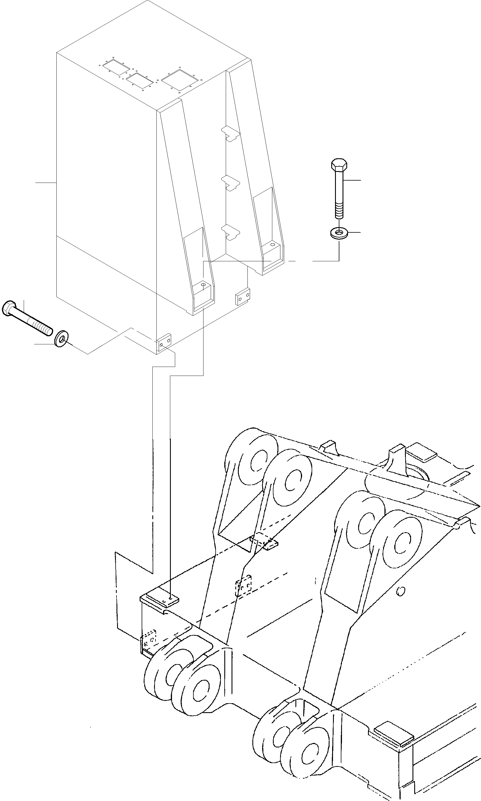
| Cab Support | 113-1902a | 113-1902a |
| Номер на схеме | Каталожный номер | Название | Количество | Детали | |||
|---|---|---|---|---|---|---|---|
| ? | 518 589 98 | Bolt (standard) | 4 | EnglischBem: DeutschBem: DeutschDesc: Schraube (Standard) InternBDB: InternKon: SerienBem: Zwhead_Deu: Zwhead_Eng: |
|||
| ? | 518 590 98 | Bolt (cold weather design) | 4 | EnglischBem: DeutschBem: DeutschDesc: Schraube (Kaltzдh) InternBDB: InternKon: SerienBem: Zwhead_Deu: Zwhead_Eng: |
|||
| ? | 515 954 98 | Bolt (standard) | 6 | EnglischBem: DeutschBem: DeutschDesc: Schraube (Standard) InternBDB: InternKon: SerienBem: Zwhead_Deu: Zwhead_Eng: |
|||
| ? | 517 246 98 | Bolt (cold weather design) | 6 | EnglischBem: DeutschBem: DeutschDesc: Schraube (Kaltzдh) InternBDB: InternKon: SerienBem: Zwhead_Deu: Zwhead_Eng: |
|||
| ? | 255 056 40 | Washer | 10 | EnglischBem: DeutschBem: DeutschDesc: Scheibe InternBDB: InternKon: SerienBem: Zwhead_Deu: Zwhead_Eng: |