| Наименование | Страница | Код страницы |
|---|---|---|
| Electric-Mounting Plate - NS | 991-1218 | 991-1218 |
| Номер на схеме | Каталожный номер | Название | Количество | Детали | |||
|---|---|---|---|---|---|---|---|
| ? | 963 257 40 | Switch cabinet assy. | 1 | EnglischBem: DeutschBem: DeutschDesc: Schaltschrank kpl. InternBDB: InternKon: SerienBem: Zwhead_Deu: Zwhead_Eng: |
|||
| ? | 940 907 40 | Fastener r.h | A/R | EnglischBem: DeutschBem: DeutschDesc: HebelverschluЯ rechts InternBDB: InternKon: SerienBem: Zwhead_Deu: Zwhead_Eng: |
|||
| ? | 621 983 40 | Band roller with grease nipple | 6 | EnglischBem: DeutschBem: DeutschDesc: Bandrolle mit Schmiernippel InternBDB: InternKon: SerienBem: Zwhead_Deu: Zwhead_Eng: |
|||
| ? | 592 259 40 | Profiled joint | A/R | EnglischBem: DeutschBem: DeutschDesc: Dichtungsprofil InternBDB: InternKon: SerienBem: Zwhead_Deu: Zwhead_Eng: |
|||
| ? | Door | 1 | EnglischBem: DeutschBem: DeutschDesc: Tьr InternBDB: InternKon: SerienBem: Zwhead_Deu: Zwhead_Eng: |
||||
| ? | Door | 2 | EnglischBem: DeutschBem: DeutschDesc: Tьr InternBDB: InternKon: SerienBem: Zwhead_Deu: Zwhead_Eng: |
||||
| ? | 765 736 73 | Limit switch | 2 | EnglischBem: DeutschBem: DeutschDesc: Endschalter InternBDB: InternKon: SerienBem: Zwhead_Deu: Zwhead_Eng: |
|||
| ? | 940 906 40 | Fastener l.h | A/R | EnglischBem: DeutschBem: DeutschDesc: HebelverschluЯ links InternBDB: InternKon: SerienBem: Zwhead_Deu: Zwhead_Eng: |
|||
| ? | 764 586 73 | Fuse 200A | 3 | EnglischBem: DeutschBem: DeutschDesc: Sicherung 200A InternBDB: InternKon: SerienBem: Zwhead_Deu: Zwhead_Eng: |
|||
| ? | 696 200 73 | Insulator | 12 | EnglischBem: DeutschBem: DeutschDesc: Isolator InternBDB: InternKon: SerienBem: Zwhead_Deu: Zwhead_Eng: |
|||
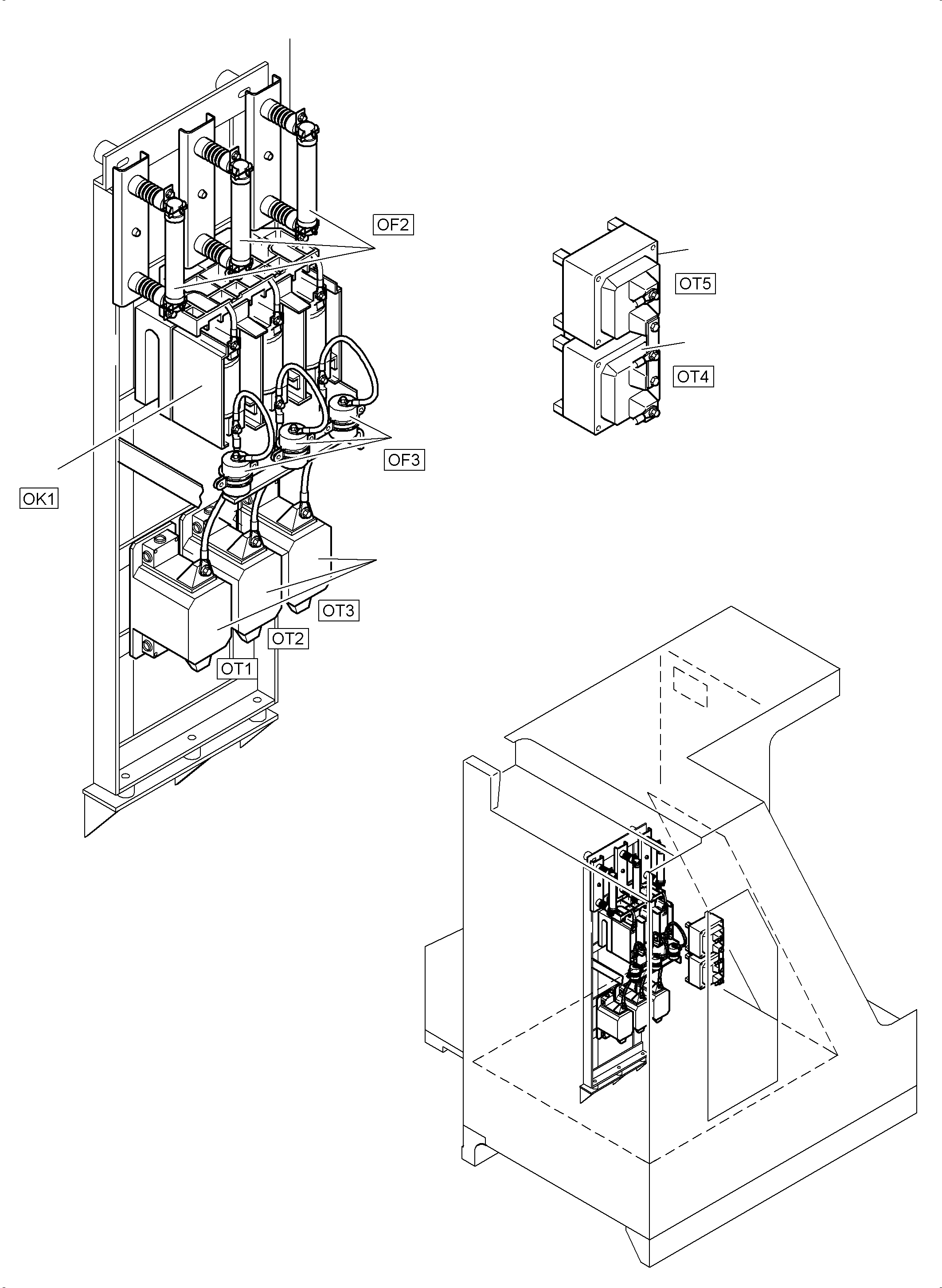
| ? | 797 496 73 | AC-dry transformer | 1 | EnglischBem: DeutschBem: DeutschDesc: Drehstrom-Trockentrafo InternBDB: InternKon: SerienBem: Zwhead_Deu: Zwhead_Eng: |
|||
| ? | 308 426 99 | Bolt | 4 | EnglischBem: DeutschBem: DeutschDesc: Schraube InternBDB: InternKon: SerienBem: Zwhead_Deu: Zwhead_Eng: |
|||
| ? | 510 729 98 | Resilient sleeve | 4 | EnglischBem: DeutschBem: DeutschDesc: Dehnhьlse InternBDB: InternKon: SerienBem: Zwhead_Deu: Zwhead_Eng: |
|||
| ? | 796 789 73 | Excess-voltage dicharger | 3 | EnglischBem: DeutschBem: DeutschDesc: Ueberspannunsableiter InternBDB: InternKon: SerienBem: Zwhead_Deu: Zwhead_Eng: |
|||
| ? | 764 102 73 | Fuse 16 A | 3 | EnglischBem: DeutschBem: DeutschDesc: Sicherung 16 A InternBDB: InternKon: SerienBem: Zwhead_Deu: Zwhead_Eng: |
|||
| ? | 792 868 73 | Overvoltage limiter | 3 | EnglischBem: DeutschBem: DeutschDesc: Ьberspannungsbegrenzer InternBDB: InternKon: SerienBem: Zwhead_Deu: Zwhead_Eng: |
|||
| ? | 793 534 73 | Potential transformer | 2 | EnglischBem: DeutschBem: DeutschDesc: Spannungswandler InternBDB: InternKon: SerienBem: Zwhead_Deu: Zwhead_Eng: |
|||
| ? | 797 495 73 | Load-break switch 12 kV, 400A | 1 | EnglischBem: DeutschBem: DeutschDesc: Schublasttrennschalter 12 kV, 400A InternBDB: InternKon: SerienBem: Zwhead_Deu: Zwhead_Eng: |
|||
| ? | 692 482 | Switch conduit | 3 | EnglischBem: DeutschBem: DeutschDesc: Schaltrohreinheit InternBDB: InternKon: SerienBem: Zwhead_Deu: Zwhead_Eng: |
|||
| ? | 692 487 | Fixing key | 6 | EnglischBem: DeutschBem: DeutschDesc: Feststellkeil InternBDB: InternKon: SerienBem: Zwhead_Deu: Zwhead_Eng: |
|||
| ? | 692 484 | Junction contact, lower | 3 | EnglischBem: DeutschBem: DeutschDesc: AnschluЯkontaktstьck, unten InternBDB: InternKon: SerienBem: Zwhead_Deu: Zwhead_Eng: |
|||
| ? | 692 483 | Junction contact, upper | 3 | EnglischBem: DeutschBem: DeutschDesc: AnschluЯkontaktstьck, oben InternBDB: InternKon: SerienBem: Zwhead_Deu: Zwhead_Eng: |
|||
| ? | 692 486 | Stop piece | 3 | EnglischBem: DeutschBem: DeutschDesc: Anschlagstьck InternBDB: InternKon: SerienBem: Zwhead_Deu: Zwhead_Eng: |
|||
| ? | 692 748 | Switch conduit - tool | 1 | EnglischBem: DeutschBem: DeutschDesc: Schaltrohr-Ausziehwerkzeug InternBDB: InternKon: SerienBem: Zwhead_Deu: Zwhead_Eng: |
|||
| ? | 692 747 | Fixing key - tool | 1 | EnglischBem: DeutschBem: DeutschDesc: Feststellkeil-Ausziehwerkzeug InternBDB: InternKon: SerienBem: Zwhead_Deu: Zwhead_Eng: |
|||
| ? | 693 128 | Power switch-off - drive | 1 | EnglischBem: DeutschBem: DeutschDesc: Lasttrennschalter-Antrieb InternBDB: InternKon: SerienBem: Zwhead_Deu: Zwhead_Eng: |
|||
| ? | 693 129 | Shift-lever | 1 | EnglischBem: DeutschBem: DeutschDesc: Schalthebel InternBDB: InternKon: SerienBem: Zwhead_Deu: Zwhead_Eng: |
|||
| ? | 793 906 73 | Current transformer | 3 | EnglischBem: DeutschBem: DeutschDesc: Stromwandler InternBDB: InternKon: SerienBem: Zwhead_Deu: Zwhead_Eng: |
|||
| ? | 797 766 73 | Vacuum contactor | 1 | EnglischBem: DeutschBem: DeutschDesc: Vakuumschьtz InternBDB: InternKon: SerienBem: Zwhead_Deu: Zwhead_Eng: |
|||
| ? | 796 788 73 | Temperatur sensor | 2 | EnglischBem: DeutschBem: DeutschDesc: Temperatursensor InternBDB: InternKon: SerienBem: Zwhead_Deu: Zwhead_Eng: |
|||
| ? | 761 576 73 | Thermostat | 2 | EnglischBem: DeutschBem: DeutschDesc: Temperaturregler InternBDB: InternKon: SerienBem: Zwhead_Deu: Zwhead_Eng: |
|||
| ? | 766 506 73 | Hydrostat | 1 | EnglischBem: DeutschBem: DeutschDesc: Kanalfeuchteregler InternBDB: InternKon: SerienBem: Zwhead_Deu: Zwhead_Eng: |
|||
| ? | 796 766 73 | Fan heater 2000 W | 2 | EnglischBem: DeutschBem: DeutschDesc: Geblдseheizung 2000 W InternBDB: InternKon: SerienBem: Zwhead_Deu: Zwhead_Eng: |
|||
| ? | 896 781 40 | Battery charger | 2 | EnglischBem: DeutschBem: DeutschDesc: Batterrieladegerдt InternBDB: InternKon: SerienBem: Zwhead_Deu: Zwhead_Eng: |
|||
| ? | 769 099 73 | Ammeter | 1 | EnglischBem: DeutschBem: DeutschDesc: Amperemeter InternBDB: InternKon: SerienBem: Zwhead_Deu: Zwhead_Eng: |
|||
| ? | 769 100 73 | Voltmeter | 1 | EnglischBem: DeutschBem: DeutschDesc: Voltmeter InternBDB: InternKon: SerienBem: Zwhead_Deu: Zwhead_Eng: |
|||
| ? | 926 550 40 | Spotlight cpl. | 2 | EnglischBem: DeutschBem: DeutschDesc: Arbeitsscheinwerfer kpl. InternBDB: InternKon: SerienBem: Zwhead_Deu: Zwhead_Eng: |
|||
| ? | 634 009 40 | Spotlight without lamp | 1 | EnglischBem: DeutschBem: DeutschDesc: Arbeitsscheinwerfer ohne Lampe InternBDB: InternKon: SerienBem: Zwhead_Deu: Zwhead_Eng: |
|||
| ? | 507 383 99 | Halogen lamp | 1 | EnglischBem: DeutschBem: DeutschDesc: Halogenlampe InternBDB: InternKon: SerienBem: Zwhead_Deu: Zwhead_Eng: |
|||
| ? | 769 155 73 | Seal | 1 | EnglischBem: DeutschBem: DeutschDesc: Dichtung InternBDB: InternKon: SerienBem: Zwhead_Deu: Zwhead_Eng: |
|||
| ? | 769 156 73 | Pane, white | 1 | EnglischBem: DeutschBem: DeutschDesc: Scheibe, weiЯ InternBDB: InternKon: SerienBem: Zwhead_Deu: Zwhead_Eng: |
|||
| ? | 798 448 73 | Safety switch, without actuator | 1 | EnglischBem: DeutschBem: DeutschDesc: Sicherheitsschalter, ohne Betдtiger InternBDB: InternKon: SerienBem: Zwhead_Deu: Zwhead_Eng: |
|||
| ? | 798 449 73 | Actuator | 1 | EnglischBem: DeutschBem: DeutschDesc: Betдtiger InternBDB: InternKon: SerienBem: Zwhead_Deu: Zwhead_Eng: |
|||
| ? | 765 688 73 | Pressure switch | 1 | EnglischBem: DeutschBem: DeutschDesc: Druckschalter InternBDB: InternKon: SerienBem: Zwhead_Deu: Zwhead_Eng: |