| Наименование | Страница | Код страницы |
|---|---|---|
| Electric-Mounting Plate - NS | 991-1308 | 991-1308 |
| Номер на схеме | Каталожный номер | Название | Количество | Детали | |||
|---|---|---|---|---|---|---|---|
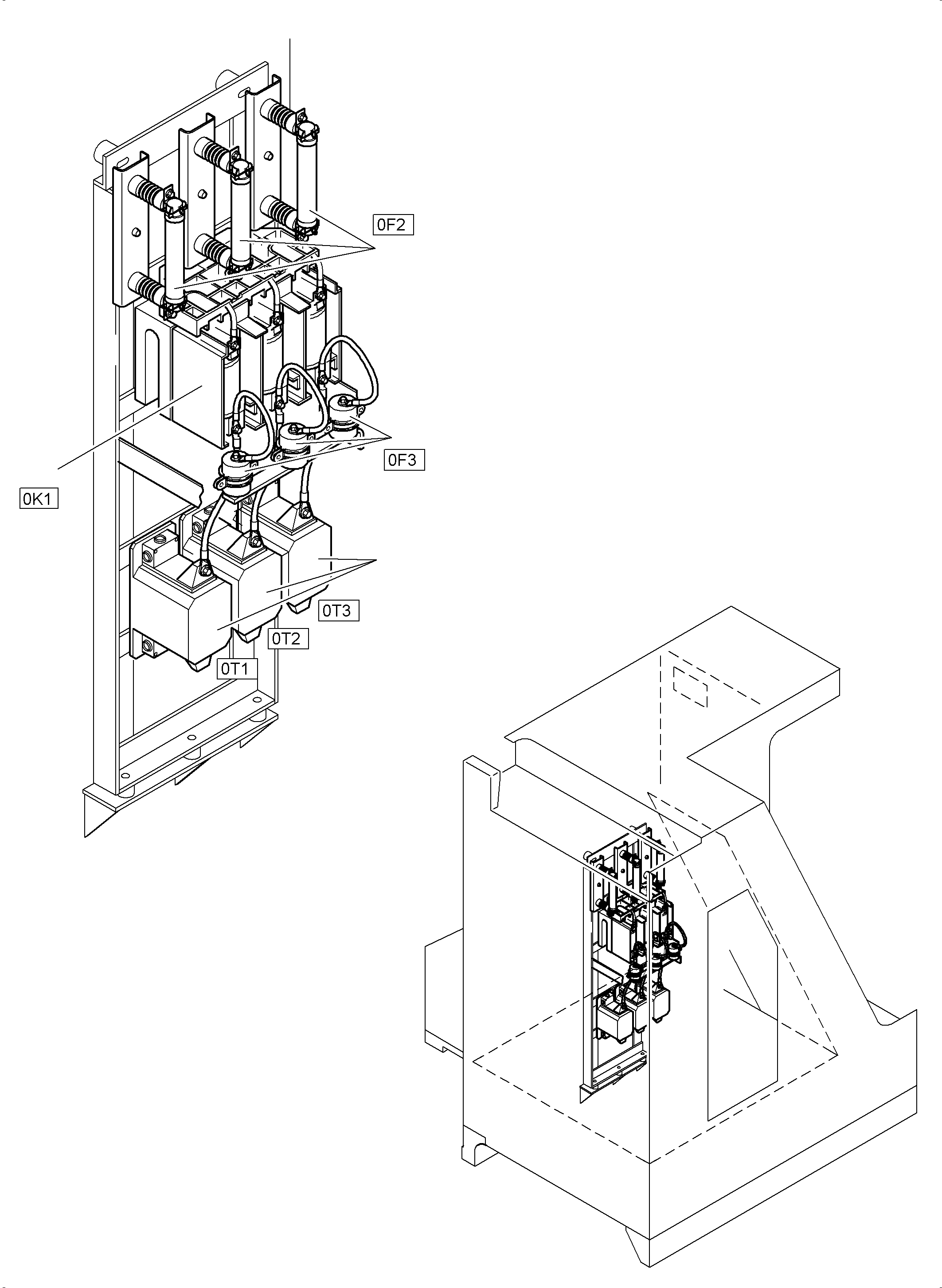
| ? | 976 112 40 | Switch cabinet assy. | 1 | EnglischBem: DeutschBem: DeutschDesc: Schaltschrank kpl. InternBDB: InternKon: SerienBem: Zwhead_Deu: Zwhead_Eng: |
|||
| ? | 940 907 40 | Fastener r.h | A/R | EnglischBem: DeutschBem: DeutschDesc: Hebelverschluss rechts InternBDB: InternKon: SerienBem: Zwhead_Deu: Zwhead_Eng: |
|||
| ? | 621 983 40 | Band roller with grease nipple | 6 | EnglischBem: DeutschBem: DeutschDesc: Bandrolle mit Schmiernippel InternBDB: InternKon: SerienBem: Zwhead_Deu: Zwhead_Eng: |
|||
| ? | 592 259 40 | Profiled joint | A/R | EnglischBem: DeutschBem: DeutschDesc: Dichtungsprofil InternBDB: InternKon: SerienBem: Zwhead_Deu: Zwhead_Eng: |
|||
| ? | Door | 1 | EnglischBem: DeutschBem: DeutschDesc: Tьr InternBDB: InternKon: SerienBem: Zwhead_Deu: Zwhead_Eng: |
||||
| ? | Door | 2 | EnglischBem: DeutschBem: DeutschDesc: Tьr InternBDB: InternKon: SerienBem: Zwhead_Deu: Zwhead_Eng: |
||||
| ? | 798 444 73 | Key lock | 1 | EnglischBem: DeutschBem: DeutschDesc: Schloss InternBDB: InternKon: SerienBem: Zwhead_Deu: Zwhead_Eng: |
|||
| ? | 764 584 73 | Limit switch | 3 | EnglischBem: DeutschBem: DeutschDesc: Endschalter InternBDB: InternKon: SerienBem: Zwhead_Deu: Zwhead_Eng: |
|||
| ? | 940 906 40 | Fastener l.h | A/R | EnglischBem: DeutschBem: DeutschDesc: Hebelverschluss links InternBDB: InternKon: SerienBem: Zwhead_Deu: Zwhead_Eng: |
|||
| ? | 796 788 73 | Temperatur sensor | 2 | EnglischBem: DeutschBem: DeutschDesc: Temperatursensor InternBDB: InternKon: SerienBem: Zwhead_Deu: Zwhead_Eng: |
|||
| ? | 764 586 73 | Fuse 200A | 3 | EnglischBem: DeutschBem: DeutschDesc: Sicherung 200A InternBDB: InternKon: SerienBem: Zwhead_Deu: Zwhead_Eng: |
|||
| ? | 696 200 73 | Insulator | 12 | EnglischBem: DeutschBem: DeutschDesc: Isolator InternBDB: InternKon: SerienBem: Zwhead_Deu: Zwhead_Eng: |
|||
| ? | 793 534 73 | Potential transformer | 2 | EnglischBem: DeutschBem: DeutschDesc: Spannungswandler InternBDB: InternKon: SerienBem: Zwhead_Deu: Zwhead_Eng: |
|||
| ? | 797 490 73 | AC-dry transformer | 1 | EnglischBem: DeutschBem: DeutschDesc: Drehstrom-Trockentrafo InternBDB: InternKon: SerienBem: Zwhead_Deu: Zwhead_Eng: |
|||
| ? | 308 426 99 | Bolt | 4 | EnglischBem: DeutschBem: DeutschDesc: Schraube InternBDB: InternKon: SerienBem: Zwhead_Deu: Zwhead_Eng: |
|||
| ? | 510 729 98 | Resilient sleeve | 4 | EnglischBem: DeutschBem: DeutschDesc: Dehnhьlse InternBDB: InternKon: SerienBem: Zwhead_Deu: Zwhead_Eng: |
|||
| ? | 796 789 73 | Excess-voltage dicharger | 3 | EnglischBem: DeutschBem: DeutschDesc: Ьberspannungsableiter InternBDB: InternKon: SerienBem: Zwhead_Deu: Zwhead_Eng: |
|||
| ? | 761 579 73 | Heater | 3 | EnglischBem: DeutschBem: DeutschDesc: Heizung InternBDB: InternKon: SerienBem: Zwhead_Deu: Zwhead_Eng: |
|||
| ? | 795 551 73 | Fuse 10 A | 3 | EnglischBem: DeutschBem: DeutschDesc: Sicherung 10 A InternBDB: InternKon: SerienBem: Zwhead_Deu: Zwhead_Eng: |
|||
| ? | 792 868 73 | Overvoltage limiter | 3 | EnglischBem: DeutschBem: DeutschDesc: Ьberspannungsbegrenzer InternBDB: InternKon: SerienBem: Zwhead_Deu: Zwhead_Eng: |
|||
| ? | 793 906 73 | Current transformer | 3 | EnglischBem: DeutschBem: DeutschDesc: Stromwandler InternBDB: InternKon: SerienBem: Zwhead_Deu: Zwhead_Eng: |
|||
| ? | 797 766 73 | Vacuum contactor | 1 | EnglischBem: DeutschBem: DeutschDesc: Vakuumschьtz InternBDB: InternKon: SerienBem: Zwhead_Deu: Zwhead_Eng: |
|||
| ? | 761 576 73 | Thermostat | 2 | EnglischBem: DeutschBem: DeutschDesc: Temperaturregler InternBDB: InternKon: SerienBem: Zwhead_Deu: Zwhead_Eng: |
|||
| ? | 766 506 73 | Hydrostat | 1 | EnglischBem: DeutschBem: DeutschDesc: Kanalfeuchteregler InternBDB: InternKon: SerienBem: Zwhead_Deu: Zwhead_Eng: |
|||
| ? | 896 781 40 | Battery charger | 2 | EnglischBem: DeutschBem: DeutschDesc: Batterrieladegerдt InternBDB: InternKon: SerienBem: Zwhead_Deu: Zwhead_Eng: |
|||
| ? | 769 099 73 | Amperemeter | 1 | EnglischBem: DeutschBem: DeutschDesc: Amperemeter InternBDB: InternKon: SerienBem: Zwhead_Deu: Zwhead_Eng: |
|||
| ? | 769 100 73 | Voltmeter | 1 | EnglischBem: DeutschBem: DeutschDesc: Voltmeter InternBDB: InternKon: SerienBem: Zwhead_Deu: Zwhead_Eng: |
|||
| ? | 798 807 73 | Pressure switch | 1 | EnglischBem: DeutschBem: DeutschDesc: Druckschalter InternBDB: InternKon: SerienBem: Zwhead_Deu: Zwhead_Eng: |
|||
| ? | 592 188 40 | Socket | 2 | EnglischBem: DeutschBem: DeutschDesc: Steckdose InternBDB: InternKon: SerienBem: Zwhead_Deu: Zwhead_Eng: |
|||
| ? | 440 461 40 | Wall socket 63A | 1 | EnglischBem: DeutschBem: DeutschDesc: Wandsteckdose 63A InternBDB: InternKon: SerienBem: Zwhead_Deu: Zwhead_Eng: |
|||
| ? | 926 550 40 | Spotlight cpl. | 2 | EnglischBem: DeutschBem: DeutschDesc: Arbeitsscheinwerfer kpl. InternBDB: InternKon: SerienBem: Zwhead_Deu: Zwhead_Eng: |
|||
| ? | 634 009 40 | Spotlight without lamp | 1 | EnglischBem: DeutschBem: DeutschDesc: Arbeitsscheinwerfer ohne Lampe InternBDB: InternKon: SerienBem: Zwhead_Deu: Zwhead_Eng: |
|||
| ? | 507 383 99 | Halogen lamp | 1 | EnglischBem: DeutschBem: DeutschDesc: Halogenlampe InternBDB: InternKon: SerienBem: Zwhead_Deu: Zwhead_Eng: |
|||
| ? | 769 155 73 | Seal | 1 | EnglischBem: DeutschBem: DeutschDesc: Dichtung InternBDB: InternKon: SerienBem: Zwhead_Deu: Zwhead_Eng: |
|||
| ? | 769 156 73 | Pane, white | 1 | EnglischBem: DeutschBem: DeutschDesc: Scheibe, weiЯ InternBDB: InternKon: SerienBem: Zwhead_Deu: Zwhead_Eng: |