k-part
Номер на схеме Каталожный номер Название Количество Детали
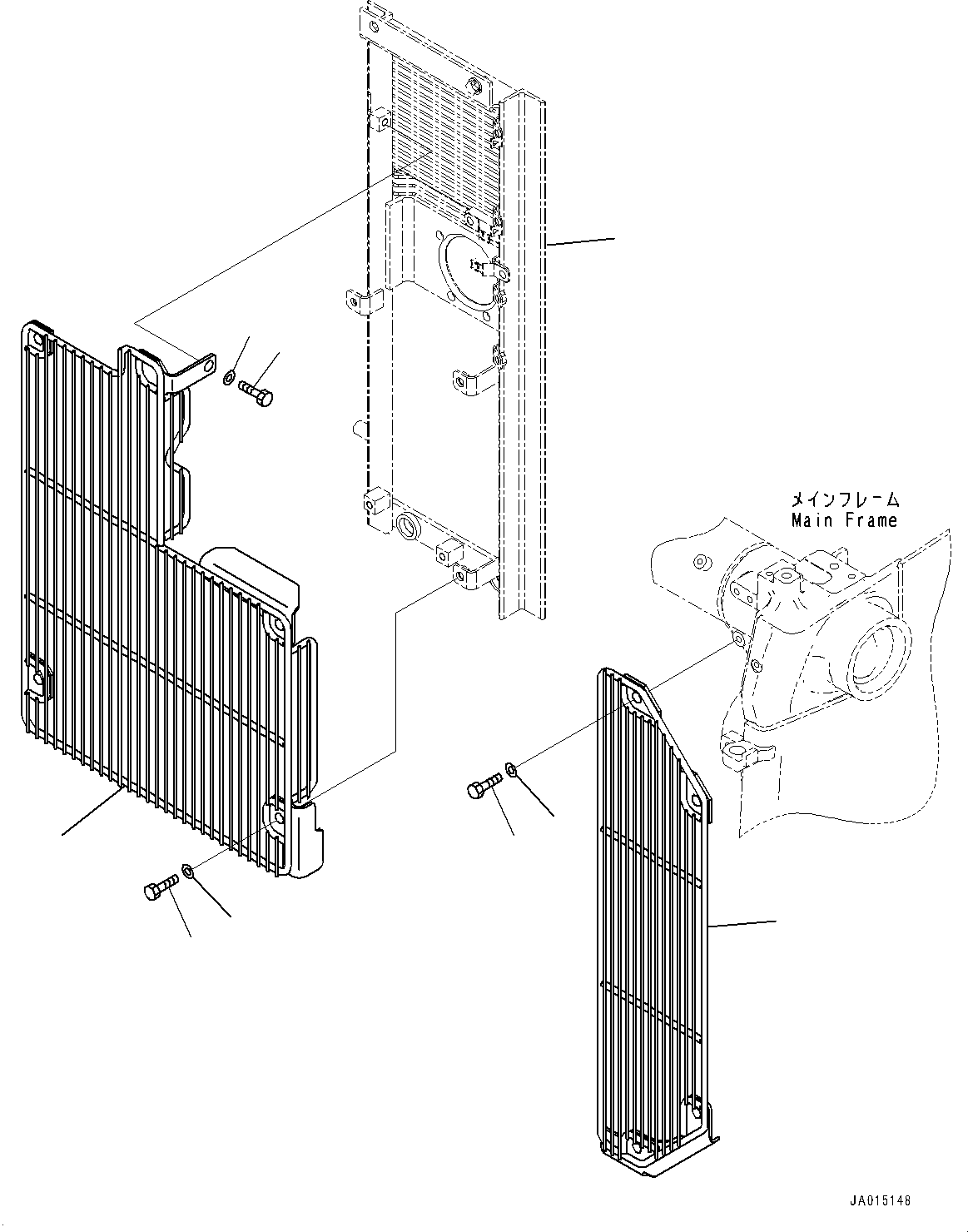
? 14X-03-51341 Net 1
SN: 90001-
KIT-FLAG: _-
SCC:
SERIALNO: 90001-
? 14X-03-61350 Net 1
SN: 90001-
KIT-FLAG: _-
SCC:
SERIALNO: 90001-
? 01010-81225 Bolt 9
SN: 90001-
KIT-FLAG: _-
SCC:
SERIALNO: 90001-
? 01643-31232 Washer 9
SN: 90001-
KIT-FLAG: _-
SCC:
SERIALNO: 90001-
? (14X-03-61310) Bracket
SN: -
KIT-FLAG: _-
SCC:
SERIALNO:
C0100-002007

Bulldozers Komatsu / D65EX-18 S/N 0-UP(0000824c) / Cooling System, Fan Net (#90001-)(C002012 : C0100-002012)
?
?
?
?
?
?
?
?
?