k-part
Номер на схеме Каталожный номер Название Количество Детали
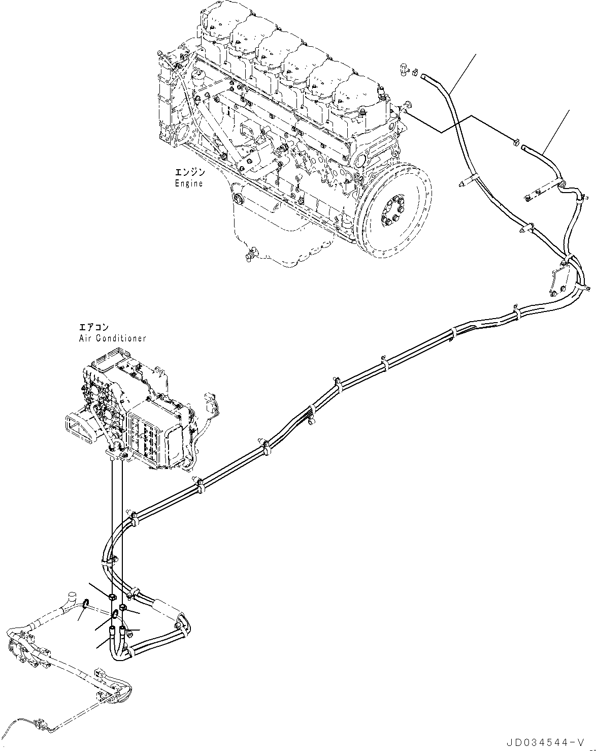
? 209-979-4151 Hose Assembly 1
SN: 65001-
KIT-FLAG: _-
SCC:
SERIALNO: 65001-
? 09479-02400 Clip 1
SN: 65001-
KIT-FLAG: _-
SCC:
SERIALNO: 65001-
? 209-979-4161 Hose Assembly 1
SN: 65001-
KIT-FLAG: _-
SCC:
SERIALNO: 65001-
? 09479-02400 Clip 1
SN: 65001-
KIT-FLAG: _-
SCC:
SERIALNO: 65001-
? 08034-20536 Band 2
SN: 65001-
KIT-FLAG: _-
SCC:
SERIALNO: 65001-

Excavators Komatsu / PC800SE-8E0 S/N 65001-UP(0000545c) / Cab, Floor, Heater Piping (#65001-)(K029060 : K1110-003049)
?
?
?
?
?
?
?
?