| Номер на схеме | Каталожный номер | Название | Количество | Детали | |||
|---|---|---|---|---|---|---|---|
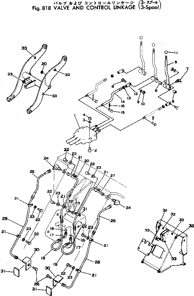
| ? | 385-11221691 | HYDRAULIC KIT | 1 | SN: 10001- |
|||
| ? | 385-11093086 | • VALVE ASS'Y,3-SPOOL | 1 | SN: .- |
|||
| ? | □385-11093084 | • VALVE ASS'Y,3-SPOOL | 1 | SN: 10001-. |
|||
| ? | 382-024869-1 | • BOLT | 3 | SN: 10001- |
|||
| ? | 382-025555-1 | • WASHER | 6 | SN: 10001- |
|||
| ? | 384-9412230 | • NUT | 3 | SN: 10001- |
|||
| ? | 385-11221731 | • HYDRAULIC KIT | 1 | SN: 10001- |
|||
| ? | 385-11081733 | • • ARM ASS'Y | 1 | SN: 10001- |
|||
| ? | 385-11081743 | • • • ARM | 1 | SN: 10001- |
|||
| ? | 381-621050-1 | • • • BEARING | 2 | SN: 10001- |
|||
| ? | 384-0126152 | • • • FITTING | 1 | SN: 10001- |
|||
| ? | 382-024863-1 | • • BOLT | 1 | SN: 10001- |
|||
| ? | 382-025536-1 | • • WASHER | 1 | SN: 10001- |
|||
| ? | 384-9412230 | • • NUT | 1 | SN: 10001- |
|||
| ? | 381-986809-1 | • • KNOB | 1 | SN: 10001- |
|||
| ? | 381-899391-1 | • • END,ROD | 1 | SN: 10001- |
|||
| ? | 382-025527-1 | • • NUT | 1 | SN: 10001- |
|||
| ? | 385-11081721 | • • ROD | 1 | SN: 10001- |
|||
| ? | 384-0121741 | • • PIN | 1 | SN: 10001- |
|||
| ? | 384-0103374 | • • PIN | 1 | SN: 10001- |
|||
| ? | 384-9411107 | • • ELBOW | 2 | SN: 10001- |
|||
| ? | 382-368269-1 | • • O-RING | 2 | SN: 10001- |
|||
| ? | 385-11080101 | • • HOSE | 2 | SN: 10001- |
|||
| ? | 385-11080041 | • • TUBE,R.H. | 1 | SN: 10001- |
|||
| ? | 380-102818-1 | • • CLAMP | 8 | SN: 10001- |
|||
| ? | 382-024839-1 | • • BOLT | 8 | SN: 10001- |
|||
| ? | 382-025534-1 | • • WASHER | 8 | SN: 10001- |
|||
| ? | 385-11080021 | • • ELBOW | 2 | SN: 10001- |
|||
| ? | 385-11080111 | • • HOSE | 2 | SN: 10001- |
|||
| ? | 384-9403333 | • • PLUG | 2 | SN: 10001- |
|||
| ? | 385-11080031 | • • TUBE,L.H. | 1 | SN: 10001- |
|||
| ? | 385-11083521 | • TUBE,L.H. | 1 | SN: 10001- |
|||
| ? | 385-11083531 | • TUBE,R.H. | 1 | SN: 10001- |
|||
| ? | 385-11080012 | • ANGLE | 2 | SN: 10001- |
|||
| ? | 385-11080001 | • BAR | 2 | SN: 10001- |
|||
| ? | 385-11079991 | • SUPPORT | 2 | SN: 10001- |
|||
| ? | 382-326089-1 | • BOSS | 8 | SN: 10001- |
