| Номер на схеме | Каталожный номер | Название | Количество | Детали | |||
|---|---|---|---|---|---|---|---|
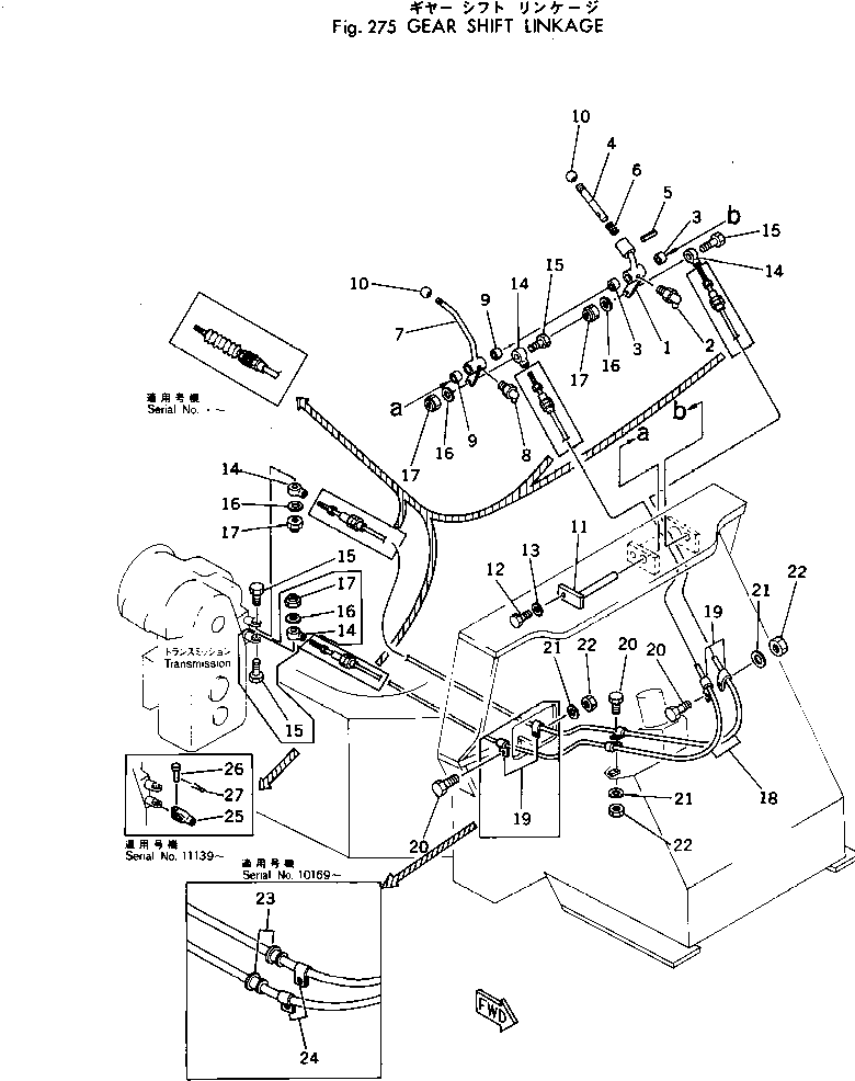
| ? | 385-11038691 | LEVER ASS'Y,1ST ? 2ND AND 3RD | 1 | SN: 10001- |
|||
| ? | ☆ | • LEVER | 1 | SN: 10001- |
|||
| ? | 384-0109462 | • FITTING | 1 | SN: 10001- |
|||
| ? | 381-621050-1 | • BEARING | 2 | SN: 10001- |
|||
| ? | 385-11038651 | ROD | 1 | SN: 10001- |
|||
| ? | 380-153964-1 | PIN | 1 | SN: 10001- |
|||
| ? | 380-885118-3 | SPRING | 1 | SN: 10001- |
|||
| ? | 385-11038701 | LEVER ASS'Y,FORWARD AND REVERSE | 1 | SN: 10001- |
|||
| ? | ☆ | • LEVER | 1 | SN: 10001- |
|||
| ? | 384-0109462 | • FITTING | 1 | SN: 10001- |
|||
| ? | 381-621050-1 | • BEARING | 2 | SN: 10001- |
|||
| ? | 381-923134-1 | KNOB | 2 | SN: 10001- |
|||
| ? | 385-11014592 | PIN | 1 | SN: 10001- |
|||
| ? | 382-023839-1 | BOLT | 1 | SN: 10001- |
|||
| ? | 382-025553-1 | WASHER | 1 | SN: 10001- |
|||
| ? | 381-514358-1 | END,ROD | 3 | SN: 11139- |
|||
| ? | 381-514358-1 | END,ROD | 4 | SN: 10001-11138 |
|||
| ? | 382-025751-1 | BOLT | 3 | SN: 11139- |
|||
| ? | 382-025751-1 | BOLT | 4 | SN: 10001-11138 |
|||
| ? | 382-025533-1 | WASHER | 3 | SN: 11139- |
|||
| ? | 382-025533-1 | WASHER | 4 | SN: 10001-11138 |
|||
| ? | 384-9413977 | NUT | 3 | SN: 11139- |
|||
| ? | 384-9413977 | NUT | 4 | SN: 10001-11138 |
|||
| ? | 385-10158681 | CABLE | 2 | SN: .- |
|||
| ? | □381-934441-2 | CABLE | 2 | SN: 10001-. |
|||
| ? | 382-129083-1 | CLAMP | 4 | SN: 10169- |
|||
| ? | 382-129083-1 | CLAMP | 6 | SN: 10001-10168 |
|||
| ? | 382-024840-1 | BOLT | 3 | SN: 10001- |
|||
| ? | 382-025534-1 | WASHER | 3 | SN: 10001- |
|||
| ? | 382-025522-1 | NUT | 3 | SN: 10001- |
|||
| ? | 385-11093071 | GROMMET | 2 | SN: 10169- |
|||
| ? | 381-299413-1 | CLAMP | 2 | SN: 10169- |
|||
| ? | 385-11276271 | YOKE | 1 | SN: 11139- |
|||
| ? | 382-023840-1 | PIN | 1 | SN: 11139- |
|||
| ? | 384-0103374 | PIN | 1 | SN: 11139- |
