| Номер на схеме | Каталожный номер | Название | Количество | Детали | |||
|---|---|---|---|---|---|---|---|
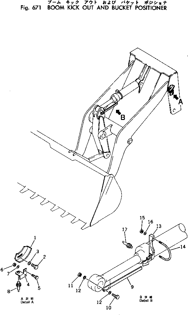
| ? | 385-11242881 | SUPPORT | 1 | SN: 10001- |
|||
| ? | 382-024859-1 | BOLT | 1 | SN: 10001- |
|||
| ? | 382-025536-1 | WASHER | 1 | SN: 10001- |
|||
| ? | 385-10054802 | SUPPORT | 1 | SN: 10202- |
|||
| ? | □385-10054801 | SUPPORT | 1 | SN: 10001-10201 |
|||
| ? | 380-140483H | BOLT | 2 | SN: 10001- |
|||
| ? | 382-025522-1 | NUT | 2 | SN: 10001- |
|||
| ? | 382-025534-1 | WASHER | 2 | SN: 10001- |
|||
| ? | 385-10201422 | SWITCH | 1 | SN: 10016- |
|||
| ? | □385-10201421 | SWITCH | 1 | SN: 10001-10015 |
|||
| ? | 385-10238192 | BAR | 1 | SN: 10001- |
|||
| ? | 380-140483H | BOLT | 2 | SN: 10001- |
|||
| ? | 382-025522-1 | NUT | 2 | SN: 10001- |
|||
| ? | 382-025544-1 | WASHER | 4 | SN: 10001- |
|||
| ? | 385-10235552 | BAR | 1 | SN: 10040- |
|||
| ? | □385-10235551 | BAR | 1 | SN: 10001-10039 |
|||
| ? | 385-10319181 | U-BOLT | 1 | SN: 10040- |
|||
| ? | □385-10281931 | U-BOLT | 1 | SN: 10001-10039 |
|||
| ? | 384-9413977 | NUT | 2 | SN: 10001- |
|||
| ? | 382-025543-1 | WASHER | 2 | SN: 10001- |
|||
| ? | 385-10201422 | SWITCH | 1 | SN: 10016- |
|||
| ? | □385-10201421 | SWITCH | 1 | SN: 10001-10015 |
