| Номер на схеме | Каталожный номер | Название | Количество | Детали | |||
|---|---|---|---|---|---|---|---|
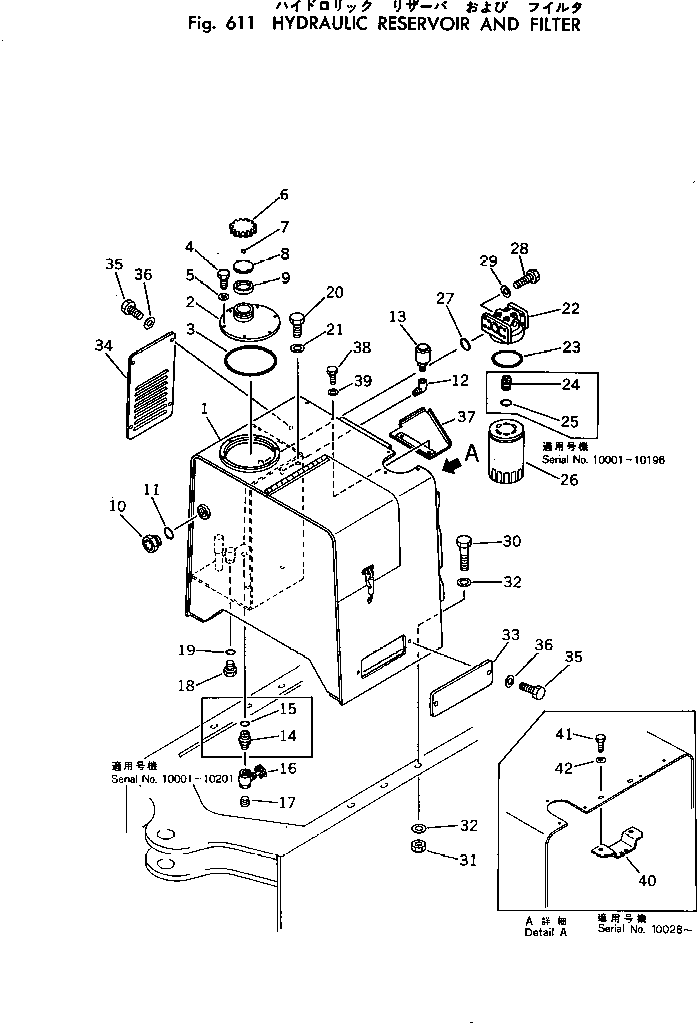
| ? | 385-10228385 | RESERVOIR,HYDRAULIC | 1 | SN: 10088- |
|||
| ? | □385-10228384 | RESERVOIR,HYDRAULIC | 1 | SN: 10028-10087 |
|||
| ? | □385-10228383 | RESERVOIR,HYDRAULIC | 1 | SN: 10001-10027 |
|||
| ? | 385-11261231 | RETAINER | 1 | SN: 10001- |
|||
| ? | 382-022401-1 | O-RING | 1 | SN: 10001- |
|||
| ? | 382-024840-1 | BOLT | 6 | SN: 10001- |
|||
| ? | 382-025534-1 | WASHER | 6 | SN: 10001- |
|||
| ? | 385-11037681 | CAP ASS'Y | 1 | SN: 10001- |
|||
| ? | 381-988178-1 | • CAP | 1 | SN: 10001- |
|||
| ? | 382-017012-1 | • BALL | 1 | SN: 10001- |
|||
| ? | 381-618689-1 | • PLATE | 1 | SN: 10001- |
|||
| ? | 381-618688-1 | • GASKET | 1 | SN: 10001- |
|||
| ? | 381-933022-1 | GAUGE,SIGHT | 1 | SN: 10001- |
|||
| ? | 382-384942-1 | O-RING | 1 | SN: 10001- |
|||
| ? | 384-0141621 | ELBOW | 1 | SN: 10001- |
|||
| ? | 381-985272-1 | BREATHER | 1 | SN: 10001- |
|||
| ? | 384-9402711 | CONNECTOR | 1 | SN: 10001-10201 |
|||
| ? | 382-368269-1 | O-RING | 1 | SN: 10001- |
|||
| ? | 385-10051171 | VALVE | 1 | SN: 10001- |
|||
| ? | 382-020969-1 | PLUG | 1 | SN: 10001- |
|||
| ? | 384-9410363 | PLUG | 1 | SN: 10001- |
|||
| ? | 382-296247-1 | O-RING | 1 | SN: 10001- |
|||
| ? | 382-024884-1 | BOLT | 1 | SN: 10172- |
|||
| ? | □382-024885-1 | BOLT | 1 | SN: 10001-10171 |
|||
| ? | 382-025538-1 | WASHER | 1 | SN: 10172- |
|||
| ? | □382-025548-1 | WASHER | 1 | SN: 10001-10171 |
|||
| ? | 385-10282721 | FILTER ASS'Y,HYDRAULIC | 1 | SN: 10001- |
|||
| ? | 385-10293061 | • HEAD ASS'Y | 1 | SN: 10001- |
|||
| ? | 381-940388-1 | • • O-RING | 1 | SN: 10001- |
|||
| ? | 385-11053422 | • CAGE ASS'Y | 1 | SN: 10001-10196 |
|||
| ? | 381-876077-1 | • • O-RING | 1 | SN: 10001-10196 |
|||
| ? | 385-11066432 | • ELEMENT | 1 | SN: 10001- |
|||
| ? | 382-343921-1 | O-RING | 1 | SN: 10001- |
|||
| ? | 382-024840-1 | BOLT | 4 | SN: 10001- |
|||
| ? | 382-025534-1 | WASHER | 4 | SN: 10001- |
|||
| ? | 382-024864-1 | BOLT | 6 | SN: 10001- |
|||
| ? | 384-9412230 | NUT | 6 | SN: 10001- |
|||
| ? | 382-025555-1 | WASHER | 12 | SN: 10001- |
|||
| ? | 385-11256571 | COVER | 2 | SN: 10001- |
|||
| ? | 385-10261611 | COVER | 1 | SN: 10001- |
|||
| ? | 382-024860-1 | BOLT | 8 | SN: 10001- |
|||
| ? | 382-025536-1 | WASHER | 8 | SN: 10196- |
|||
| ? | □382-025546-1 | WASHER | 8 | SN: 10001-10195 |
|||
| ? | 385-10292462 | SUPPORT | 8 | SN: 10370- |
|||
| ? | □385-10292461 | SUPPORT | 1 | SN: 10001-10369 |
|||
| ? | 382-024839-1 | BOLT | 2 | SN: 10001- |
|||
| ? | 382-025544-1 | WASHER | 2 | SN: 10001- |
|||
| ? | 385-11299051 | SUPPORT | 1 | SN: 10001- |
|||
| ? | 382-024861-1 | BOLT | 2 | SN: 10001- |
|||
| ? | 382-025546-1 | WASHER | 2 | SN: 10001- |
