| Номер на схеме | Каталожный номер | Название | Количество | Детали | |||
|---|---|---|---|---|---|---|---|
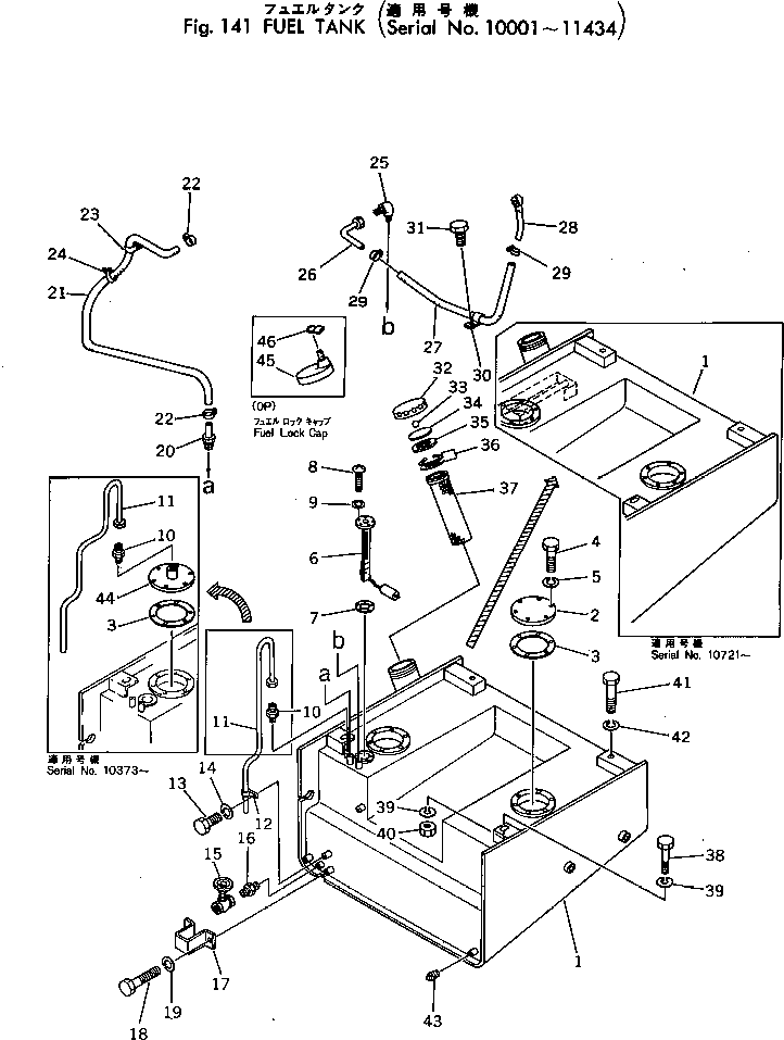
| ? | 385-10242291 | TANK,FUEL | 1 | SN: 10721-11434 |
|||
| ? | 385-10234241 | TANK,FUEL | 1 | SN: 10373-10720 |
|||
| ? | 385-10122041 | TANK,FUEL | 1 | SN: 10001-10372 |
|||
| ? | 381-986021-4 | COVER | 1 | SN: 10373-@ |
|||
| ? | 381-986021-4 | COVER | 2 | SN: .-10372 |
|||
| ? | □381-986021-3 | COVER | 2 | SN: 10001-. |
|||
| ? | 381-986022-2 | GASKET | 2 | SN: 10001-@ |
|||
| ? | 382-024840-1 | BOLT | 12 | SN: 10001-@ |
|||
| ? | 382-025544-1 | WASHER | 12 | SN: 10001-@ |
|||
| ? | 385-10329061 | SENDER,FUEL LEVEL | 1 | SN: 11249-11434 |
|||
| ? | 385-11015883 | SENDER,FUEL LEVEL | 1 | SN: 11105-11248 |
|||
| ? | □385-11015882 | SENDER,FUEL LEVEL | 1 | SN: 10961-11104 |
|||
| ? | □385-11015881 | SENDER,FUEL LEVEL | 1 | SN: 10001-10960 |
|||
| ? | 385-10191931 | GASKET | 1 | SN: 10241-@ |
|||
| ? | □380-107755-1 | GASKET | 1 | SN: 10001-10240 |
|||
| ? | 384-0132908 | SCREW | 5 | SN: 10001-@ |
|||
| ? | 384-0120391 | WASHER | 5 | SN: 10001-@ |
|||
| ? | 381-610082-1 | ADAPTER | 1 | SN: 10373-@ |
|||
| ? | 384-9402708 | CONNECTOR | 1 | SN: 10001-10372 |
|||
| ? | 385-10234121 | TUBE | 1 | SN: 10373-@ |
|||
| ? | 385-11204771 | TUBE | 1 | SN: 10001-10372 |
|||
| ? | 382-972555-1 | CLAMP | 1 | SN: 10001-@ |
|||
| ? | 382-024838-1 | BOLT | 1 | SN: 10001-@ |
|||
| ? | 382-025534-1 | WASHER | 1 | SN: 10001-@ |
|||
| ? | 385-10051741 | VALVE | 1 | SN: 10001-11434 |
|||
| ? | 385-10015421 | CONNECTOR | 1 | SN: 10001-11434 |
|||
| ? | 385-10003651 | COVER | 1 | SN: 10001-@ |
|||
| ? | 382-024840-1 | BOLT | 2 | SN: 10001-@ |
|||
| ? | 382-025534-1 | WASHER | 2 | SN: 10001-@ |
|||
| ? | 385-10160822 | ADAPTER | 1 | SN: 10085-@ |
|||
| ? | □385-10160821 | ELBOW | 1 | SN: 10001-10084 |
|||
| ? | 385-10160811 | HOSE | 1 | SN: 10001-@ |
|||
| ? | 07281-00137 | CLAMP | 2 | SN: 10001-@ |
|||
| ? | 381-360713-1 | CLAMP | 1 | SN: 10011-@ |
|||
| ? | □381-299406-1 | CLIP | 1 | SN: 10001-10010 |
|||
| ? | 381-976197-1 | STRAP | 1 | SN: 10001-@ |
|||
| ? | 384-9402864 | ELBOW | 1 | SN: 10001-@ |
|||
| ? | 385-10076601 | TUBE | 1 | SN: 10001-@ |
|||
| ? | 380-885922-1 | HOSE | 1 | SN: 10001-@ |
|||
| ? | 380-890209-1 | TUBE | 1 | SN: 10001-@ |
|||
| ? | 382-274085-1 | CLAMP | 2 | SN: 10001-@ |
|||
| ? | 381-299566-1 | CLAMP | 1 | SN: 10001-@ |
|||
| ? | 382-024838-1 | BOLT | 1 | SN: 10001-@ |
|||
| ? | 385-11037681 | CAP ASS'Y | 1 | SN: 10001-@ |
|||
| ? | 381-988178-1 | • CAP | 1 | SN: 10001-@ |
|||
| ? | 382-017012-1 | • BALL | 1 | SN: 10001-@ |
|||
| ? | 381-618689-1 | • PLATE | 1 | SN: 10001-@ |
|||
| ? | 381-618688-1 | • GASKET | 1 | SN: 10001-@ |
|||
| ? | 382-629841-1 | RING | 2 | SN: 10001-@ |
|||
| ? | 381-944442-1 | FILTER | 1 | SN: 10001-@ |
|||
| ? | 382-024877-1 | BOLT | 2 | SN: 10001-@ |
|||
| ? | 382-025556-1 | WASHER | 4 | SN: 10001-@ |
|||
| ? | 384-9412231 | NUT | 2 | SN: 10817-@ |
|||
| ? | □382-025528-1 | NUT | 2 | SN: 10001-10816 |
|||
| ? | 382-024874-1 | BOLT | 2 | SN: 10001-@ |
|||
| ? | 382-025556-1 | WASHER | 2 | SN: 10001-@ |
|||
| ? | 382-020972-1 | PLUG | 1 | SN: 10001-11434 |
|||
| ? | 385-10087281 | COVER | 1 | SN: 10373-@ |
|||
| ? | 385-10385061 | CAP (OP) | 1 | SN: 10001-@ |
|||
| ? | 385-10089551 | • CAP (OP) | 1 | SN: 10001-@ |
|||
| ? | 09460-00000 | • LOCK (OP) | 1 | SN: 10001-@ |
