k-part
Номер на схеме Каталожный номер Название Количество Детали
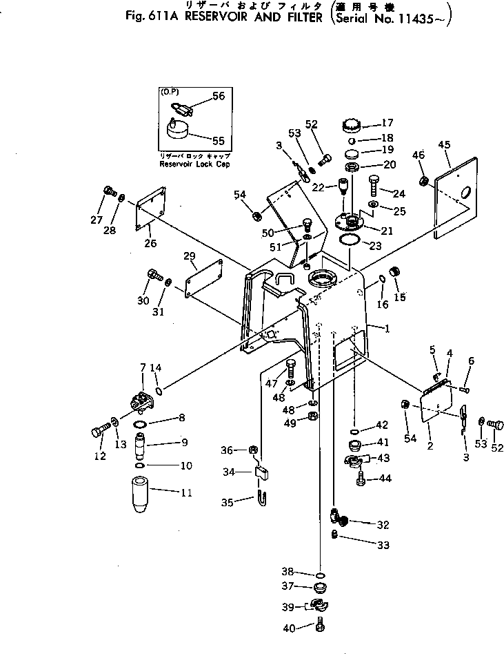
? 385-10425271 PANEL ASS'Y 1
SN: 50001-
? 385-10325611 PANEL ASS'Y 1
SN: 11435-49999
? 385-10345781 • PANEL 1
SN: 11435-
? 385-11237251 • LATCH 2
SN: 11435-
? 385-11016012 • HINGE 1
SN: 10001-
? 381-925997-1 • SPRING 2
SN: 10001-
? 384-0102676 • RIVET 4
SN: 11435-
? 385-10282721 FILTER ASS'Y 1
SN: 11435-
? 385-10293061 • HEAD ASS'Y 1
SN: 11435-
? 381-940388-1 • • O-RING 1
SN: 10001-
? 385-11053422 • CAGE ASS'Y 1
SN: 10001-
? 381-876077-1 • • O-RING 1
SN: 10001-
? 385-11066432 • ELEMENT 1
SN: 10001-
? 380-140483H BOLT 4
SN: 10001-
? 382-025534-1 WASHER 4
SN: 10001-
? 381-876074-1 O-RING 1
SN: 10001-
? 381-933022-1 GAUGE 1
SN: 10001-
? 382-384942-1 O-RING 1
SN: 10001-
? 385-11037681 CAP ASS'Y 1
SN: 10001-
? 381-988178-1 • CAP 1
SN: 10001-
? 382-017012-1 • BALL 1
SN: 10001-
? 381-618689-1 • PLATE 1
SN: 10001-
? 381-618688-1 • GASKET 1
SN: 10001-
? 381-937608-2 NECK 1
SN: 10010-
? 381-985272-1 BREATHER 1
SN: 10001-
? 382-022401-1 O-RING 1
SN: 10001-
? 382-024840-1 BOLT 6
SN: 10001-
? 382-025534-1 WASHER 6
SN: 10001-
? 385-10425321 COVER 1
SN: 50001-
? 385-10324591 COVER 1
SN: 11435-49999
? 382-024840-1 BOLT 4
SN: 11435-
? 382-025544-1 WASHER 4
SN: 11435-
? 385-10155341 COVER 1
SN: 10001-
? 382-024840-1 BOLT 4
SN: 10001-
? 382-025544-1 WASHER 4
SN: 10001-
? 385-10051171 VALVE 1
SN: 10001-
? 382-020969-1 PLUG 1
SN: 10001-
? 385-11061571 STRIP 1
SN: 10001-
? 385-11061561 U-BOLT 1
SN: 10001-
? 384-9413979 NUT 2
SN: 10001-
? 381-603517-1 FLANGE 1
SN: 10001-
? 381-939747-1 O-RING 1
SN: 10001-
? 381-877949-2 FLANGE 2
SN: 10001-
? 382-024840-1 BOLT 4
SN: 10001-
? 381-656658-1 PLUG 1
SN: 10001-
? 381-876072-1 O-RING 1
SN: 10001-
? 382-290045-1 FLANGE 2
SN: 10001-
? 382-024849-1 BOLT 4
SN: 10001-
? 385-10425372 SHEET 1
SN: 50001-
? 385-11055791 SHEET 1
SN: 10001-49999
? 381-932532-1 NUT 2
SN: 10697-
? 382-024865-1 BOLT 4
SN: 10001-
? 382-025555-1 WASHER 8
SN: 10001-
? 384-9412230 NUT 4
SN: 10001-
? 382-024884-1 BOLT 1
SN: 10026-
? 382-025538-1 WASHER 1
SN: 10026-
? 384-0132908 SCREW 4
SN: 11435-
? 384-0120217 WASHER 4
SN: 11435-
? 384-0120614 NUT 4
SN: 11435-
? 385-10385061 CAP 1
SN: 10001-
? 385-10089551 • CAP 1
SN: 10001-
? 09460-00000 • LOCK 1
SN: 10001-

Wheel Loaders Komatsu / 530-1 S/N 10001-49999(530-1r) / RESERVOIR AND FILTER(#11435-)(180060 : 611A)