| Номер на схеме | Каталожный номер | Название | Количество | Детали | |||
|---|---|---|---|---|---|---|---|
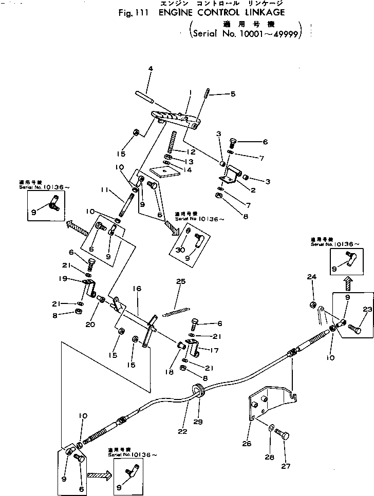
| ? | 385-10385601 | PEDAL ASS'Y | 1 | SN: 10503-@ |
|||
| ? | □381-986138-2 | PEDAL ASS'Y | 1 | SN: 10458-10502 |
|||
| ? | □381-986138-1 | PEDAL ASS'Y | 1 | SN: 10001-10457 |
|||
| ? | 385-10375511 | • PEDAL | 1 | SN: 10503-@ |
|||
| ? | □381-986138-1 | • PEDAL ASS'Y | 1 | SN: 10001-10502 |
|||
| ? | 381-975746-2 | • HINGE | 1 | SN: 10458-@ |
|||
| ? | □381-975746-1 | • HINGE | 1 | SN: 10001-10457 |
|||
| ? | 382-370686-1 | • BUSHING | 2 | SN: 10001-@ |
|||
| ? | 380-178171-1 | • PIN | 1 | SN: 10001-@ |
|||
| ? | 380-143606-1 | • PIN | 1 | SN: 10001-@ |
|||
| ? | 382-025483-1 | BOLT | 6 | SN: 10136-@ |
|||
| ? | 382-025483-1 | BOLT | 9 | SN: 10001-10135 |
|||
| ? | 382-025542-1 | WASHER | 4 | SN: 10001-@ |
|||
| ? | 382-025519-1 | NUT | 6 | SN: 10001-@ |
|||
| ? | 385-10199681 | END | 4 | SN: 10136-@ |
|||
| ? | 381-899392-1 | END | 4 | SN: 10001-10135 |
|||
| ? | 382-025930-1 | NUT | 4 | SN: 10001-@ |
|||
| ? | 385-11047761 | STUD | 1 | SN: 10001-49999 |
|||
| ? | 381-936977-1 | ROD | 1 | SN: 10001-@ |
|||
| ? | 382-025543-1 | WASHER | 1 | SN: 10001-@ |
|||
| ? | 382-025520-1 | NUT | 1 | SN: 10001-@ |
|||
| ? | 382-027122-1 | NUT | 3 | SN: 10136-@ |
|||
| ? | 382-026110-1 | NUT | 3 | SN: 10001-10135 |
|||
| ? | 385-10122101 | LEVER | 1 | SN: 10001-@ |
|||
| ? | 385-10103451 | BEARING ASS'Y,L.H. | 1 | SN: 10001-@ |
|||
| ? | 380-887916-1 | • BUSHING | 1 | SN: 10001-@ |
|||
| ? | 385-10103461 | BEARING ASS'Y,R.H. | 1 | SN: 10001-@ |
|||
| ? | 380-887916-1 | • BUSHING | 1 | SN: 10001-@ |
|||
| ? | 382-025532-1 | WASHER | 8 | SN: 10001-@ |
|||
| ? | 385-10396061 | CABLE | 1 | SN: 50001-@ |
|||
| ? | 381-980617-3 | CABLE | 1 | SN: 10001-49999 |
|||
| ? | 381-980657-1 | BOLT | 1 | SN: 10001-10135 |
|||
| ? | 385-10163691 | NUT | 1 | SN: 10001-@ |
|||
| ? | 380-119059-1 | SPRING | 1 | SN: 10001-@ |
|||
| ? | 385-10239381 | SUPPORT | 1 | SN: 10001-@ |
|||
| ? | 385-10135561 | BOLT | 2 | SN: 10001-@ |
|||
| ? | 385-10127291 | WASHER | 2 | SN: 10001-@ |
|||
| ? | 385-11049351 | GROMMET | 1 | SN: 10001-@ |
|||
| ? | 382-025532-1 | WASHER | 1 | SN: 10001-@ |
