| Номер на схеме | Каталожный номер | Название | Количество | Детали | |||
|---|---|---|---|---|---|---|---|
| ? | (385-10310012) | TRANSMISSION ASS'Y | 1 | SN: 50030- |
|||
| ? | (□385-10310011) | TRANSMISSION ASS'Y | 1 | SN: 10328-50029 |
|||
| ? | (385-10235181) | TRANSMISSION ASS'Y | 1 | SN: 10001-10327 |
|||
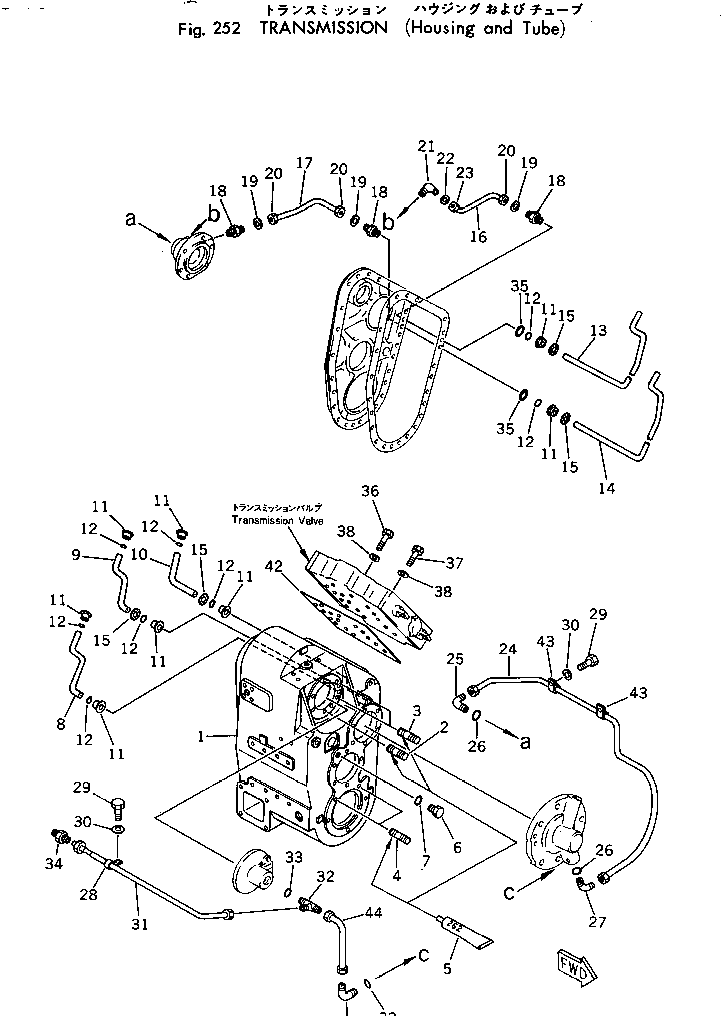
| ? | 385-10315571 | • HOUSING ASS'Y | 1 | SN: 10328- |
|||
| ? | 385-10235091 | • HOUSING ASS'Y | 1 | SN: 10001-10327 |
|||
| ? | 385-11105832 | • • STUD | 1 | SN: 10001- |
|||
| ? | 385-11105821 | • • STUD | 2 | SN: 10001- |
|||
| ? | 385-11105811 | • • STUD | 2 | SN: 10001- |
|||
| ? | 385-10017861 | • • LOCKTITE ? 262 | 1 | SN: 10001- |
|||
| ? | 384-0445090 | • • PLUG | 1 | SN: 10001- |
|||
| ? | 385-10106271 | • • WASHER | 1 | SN: 10001- |
|||
| ? | 385-11104811 | • • TUBE,REVERSE | 1 | SN: 10001- |
|||
| ? | 385-11104791 | • • TUBE,FORWARD | 1 | SN: 10001- |
|||
| ? | 385-11104801 | • • TUBE,1ST | 1 | SN: 10001- |
|||
| ? | 380-199158-1 | • • BUSHING ASS'Y | 8 | SN: 10001- |
|||
| ? | 380-125509-1 | • • • BUSHING | 8 | SN: 10001- |
|||
| ? | 382-355967 | • • • O-RING | 8 | SN: 10001- |
|||
| ? | 385-11104831 | • • TUBE,2ND | 1 | SN: 10001- |
|||
| ? | 385-11104821 | • • TUBE,3RD | 1 | SN: 10001- |
|||
| ? | 380-146898-1 | • • WASHER | 4 | SN: 10001- |
|||
| ? | 385-10078841 | • TUBE,3RD | 1 | SN: 10001- |
|||
| ? | 380-143052-1 | • TUBE,2ND | 1 | SN: 10001- |
|||
| ? | 380-129553-1 | • ADAPTER ASS'Y | 3 | SN: 10001- |
|||
| ? | 380-885347-1 | • • ADAPTER | 3 | SN: 10001- |
|||
| ? | 380-885348-1 | • • SEAL | 3 | SN: 10001- |
|||
| ? | 380-885349-1 | • • NUT | 3 | SN: 10001- |
|||
| ? | 380-129554-1 | • ELBOW ASS'Y | 1 | SN: 10001- |
|||
| ? | 380-885351-1 | • • ELBOW | 1 | SN: 10001- |
|||
| ? | 380-885348-1 | • • SEAL | 1 | SN: 10001- |
|||
| ? | 380-885349-1 | • • NUT | 1 | SN: 10001- |
|||
| ? | 385-11105502 | • TUBE | 1 | SN: 10001- |
|||
| ? | 384-9410978 | • ELBOW | 1 | SN: 10001- |
|||
| ? | 382-364885-1 | • O-RING | 2 | SN: 10001- |
|||
| ? | 384-9410878 | • ELBOW | 1 | SN: 10001- |
|||
| ? | 381-299566-1 | • CLAMP | 1 | SN: 10001- |
|||
| ? | 382-024839 | • BOLT | 3 | SN: 10001- |
|||
| ? | 382-025534-1 | • WASHER | 3 | SN: 10001- |
|||
| ? | 385-11104871 | • TUBE | 1 | SN: 10001- |
|||
| ? | 384-9411133 | • TEE | 1 | SN: 10001- |
|||
| ? | 382-368269-1 | • O-RING | 2 | SN: 10001- |
|||
| ? | 384-9402789 | • CONNECTOR | 1 | SN: 10001- |
|||
| ? | 382-352221-1 | • O-RING | 2 | SN: 10001- |
|||
| ? | 382-025500-1 | • BOLT | 11 | SN: 10001- |
|||
| ? | 382-025784 | • BOLT | 4 | SN: 10001- |
|||
| ? | 382-025534-1 | • WASHER | 15 | SN: 10001- |
|||
| ? | 381-715418-1 | • GASKET | 1 | SN: 10001- |
|||
| ? | 382-129083-1 | • CLAMP | 2 | SN: 10001- |
|||
| ? | 385-11104781 | • TUBE | 1 | SN: 10001- |
|||
| ? | 384-9410979 | • ELBOW | 1 | SN: 10001- |
