| Номер на схеме | Каталожный номер | Название | Количество | Детали | |||
|---|---|---|---|---|---|---|---|
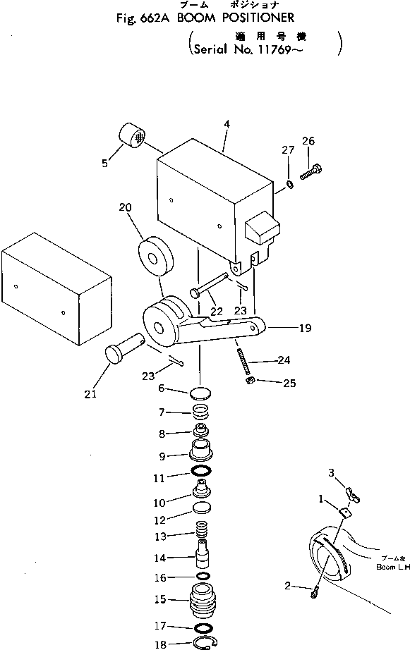
| ? | 381-934113-1 | SUPPORT | 1 | SN: 10001- |
|||
| ? | 382-598796-1 | BOLT | 1 | SN: 10001- |
|||
| ? | 384-0126177 | NUT | 1 | SN: 10001- |
|||
| ? | 385-10391171 | VALVE ASS'Y | 1 | SN: 11769- |
|||
| ? | ☆ | • BODY | 1 | SN: 11769- |
|||
| ? | 385-10361201 | • STRAINER | 1 | SN: 11769- |
|||
| ? | 385-10361271 | • VALVE ASS'Y,SUPPLY | 1 | SN: 11769- |
|||
| ? | ☆ | • • SPRING | 1 | SN: 11769- |
|||
| ? | ☆ | • • VALVE | 1 | SN: 11769- |
|||
| ? | ☆ | • • VALVE | 1 | SN: 11769- |
|||
| ? | ☆ | • • SPACER | 1 | SN: 11769- |
|||
| ? | 385-10361211 | • SEAT,INLET | 1 | SN: 11769- |
|||
| ? | 385-10361281 | • O-RING | 1 | SN: 11769- |
|||
| ? | 385-10361311 | • GUIDE | 1 | SN: 11769- |
|||
| ? | 385-10361221 | • SPRING | 1 | SN: 11768- |
|||
| ? | 385-10361231 | • PLUNGER | 1 | SN: 11769- |
|||
| ? | 385-10361241 | • GUIDE | 1 | SN: 11769- |
|||
| ? | 385-10361291 | • O-RING | 1 | SN: 11769- |
|||
| ? | 385-10361301 | • O-RING | 1 | SN: 11769- |
|||
| ? | 385-10361251 | • RING | 1 | SN: 11769- |
|||
| ? | 385-10391181 | • LEVER | 1 | SN: 11769- |
|||
| ? | 385-10337301 | • ROLLER | 11 | SN: 11769- |
|||
| ? | 385-10337281 | • PIN | 1 | SN: 11769- |
|||
| ? | 385-10337271 | • PIN | 1 | SN: 11769- |
|||
| ? | 385-10337311 | • PIN | 2 | SN: 11769- |
|||
| ? | 385-10391201 | • SCREW | 1 | SN: 11769- |
|||
| ? | 385-10391191 | • NUT | 1 | SN: 11769- |
|||
| ? | 382-025491-1 | BOLT | 2 | SN: 10001- |
|||
| ? | 382-025532-1 | WASHER | 2 | SN: 10001- |
