| Номер на схеме | Каталожный номер | Название | Количество | Детали | |||
|---|---|---|---|---|---|---|---|
| ? | 419-18-41300 | Motor | 1 | SN: 70452- KIT-FLAG: _- SCC: SERIALNO: 70452- |
|||
| ? | UCR902121764 | • Control | 1 | SN: 70452- KIT-FLAG: _- SCC: SERIALNO: 70452- |
|||
| ? | UCR902115809 | • • Valve, Flashing | 1 | SN: 70452- KIT-FLAG: _- SCC: SERIALNO: 70452- |
|||
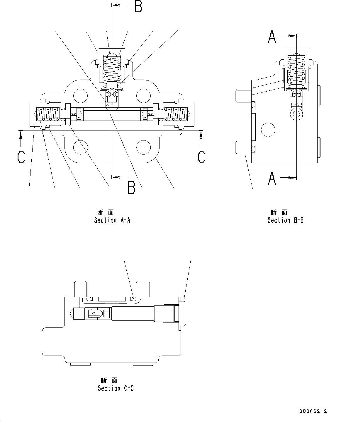
| ? | UCR902115773 | • • • Valve, Flashing | 1 | SN: 70452- KIT-FLAG: _- SCC: SERIALNO: 70452- |
|||
| ? | UCR902115700 | • • • • Body | 1 | SN: 70452- KIT-FLAG: _- SCC: SERIALNO: 70452- |
|||
| ? | UC1720001575 | • • • • Spool | 1 | SN: 70452- KIT-FLAG: _- SCC: SERIALNO: 70452- |
|||
| ? | UC1704302344 | • • • • Plunger | 1 | SN: 70452- KIT-FLAG: _- SCC: SERIALNO: 70452- |
|||
| ? | UCR902115717 | • • • • Plug | 2 | SN: 70452- KIT-FLAG: _- SCC: SERIALNO: 70452- |
|||
| ? | UCR902115716 | • • • • Plug | 1 | SN: 70452- KIT-FLAG: _- SCC: SERIALNO: 70452- |
|||
| ? | UC1704171122 | • • • • Seat, Spring | 2 | SN: 70452- KIT-FLAG: _- SCC: SERIALNO: 70452- |
|||
| ? | UC1720119218 | • • • • Spring | 2 | SN: 70452- KIT-FLAG: _- SCC: SERIALNO: 70452- |
|||
| ? | UC1704178489 | • • • • Spring | 1 | SN: 70452- KIT-FLAG: _- SCC: SERIALNO: 70452- |
|||
| ? | UC1301616009 | • • • • Bolt, Hexagon Socket Head | 4 | SN: 70452- KIT-FLAG: _- SCC: SERIALNO: 70452- |
|||
| ? | UC1098308629 | • • • • O-ring | 1 | SN: 70452- KIT-FLAG: _- SCC: SERIALNO: 70452- |
|||
| ? | UC1098308601 | • • • • O-ring | 2 | SN: 70452- KIT-FLAG: _- SCC: SERIALNO: 70452- |
|||
| ? | UC1300384005 | • • • • O-ring | 1 | SN: 70452- KIT-FLAG: _- SCC: SERIALNO: 70452- |
|||
| ? | UC1701530124 | • • • • Washer | 1 | SN: 70452- KIT-FLAG: _- SCC: SERIALNO: 70452- |
|||
| ? | UC1701539305 | • • • • Plug | 1 | SN: 70452- KIT-FLAG: _- SCC: SERIALNO: 70452- |
|||
| ? | UC1701570791 | • • • • Shim, T=1.0mm | 1 | SN: 70452- KIT-FLAG: _- SCC: SERIALNO: 70452- |
|||
| ? | UC1701579651 | • • • • Shim, T=0.3mm | 1 | SN: 70452- KIT-FLAG: _- SCC: SERIALNO: 70452- |
|||
| ? | UC1701579669 | • • • • Shim, T=0.5mm | 1 | SN: 70452- KIT-FLAG: _- SCC: SERIALNO: 70452- |