k-part
Наименование Страница Код страницы
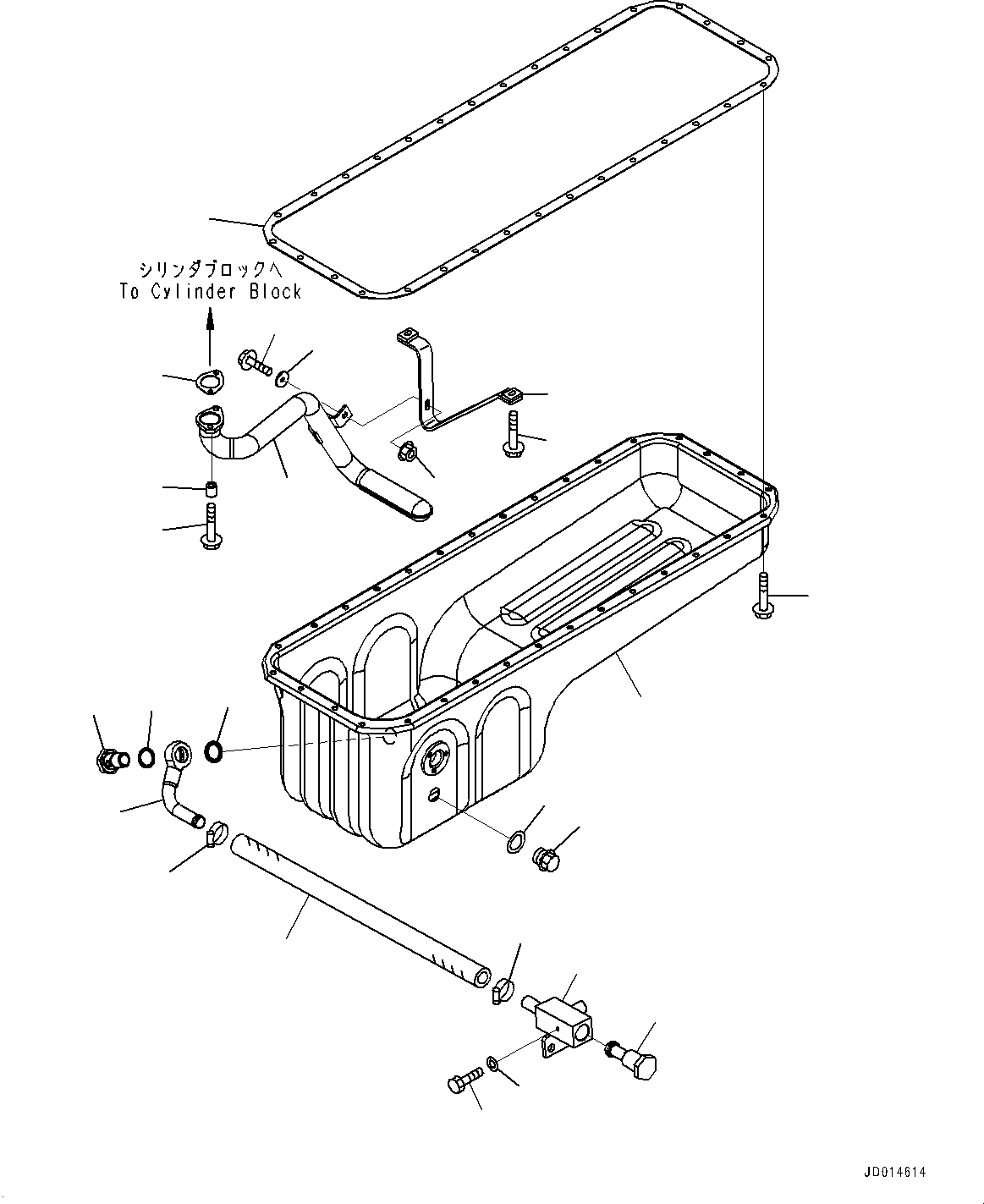
Breather Hose (#26856759-) B017001 A2080-001001

Engines Komatsu / SAA6D114E-3C S/N 26856759-UP (For WA430-6)(0000309c) / Breather Hose(B017000 : X16-0A10790)
?
?
?
?
?
?
?
?
?
?
?
?
?