k-part
Номер на схеме Каталожный номер Название Количество Детали
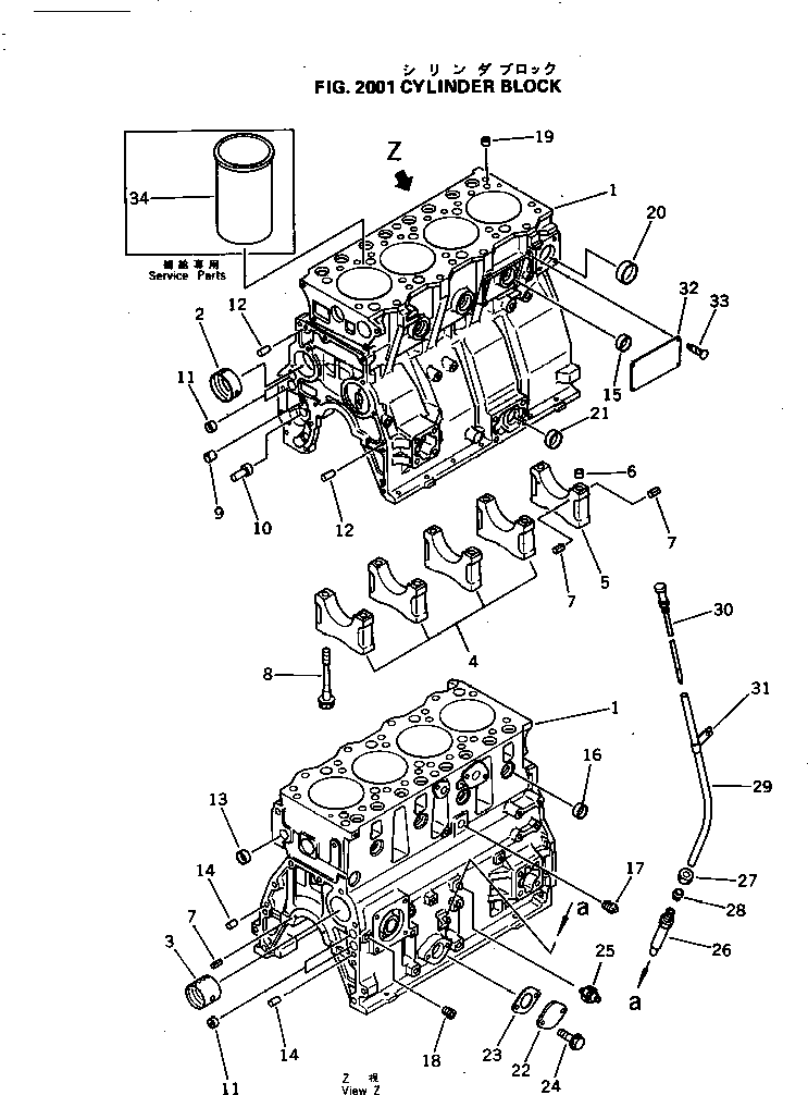
? 6204-21-1102 CYLINDER BLOCK ASS'Y 1
SN: 33661-
KIT-FLAG: _-
SERIALNO: 33661-
? □6204-21-1101 CYLINDER BLOCK ASS'Y 1
SN: 10001-33660
KIT-FLAG: _-
SERIALNO: 10001-33660
? • BLOCK,CYLINDER 1
SN: 33661-
KIT-FLAG: _-
SERIALNO: 33661-
? • BLOCK,CYLINDER 1
SN: 10001-33660
KIT-FLAG: _-
SERIALNO: 10001-33660
? 6204-21-1410 • BUSHING 1
SN: 10001-
KIT-FLAG: _-
SERIALNO: 10001-
? 6204-21-1420 • BUSHING 2
SN: 33661-
KIT-FLAG: _-
SERIALNO: 33661-
? \5\6204-29-1210 • CAP,MAIN METAL, NO.1,2,3,4 4
SN: 10001-
KIT-FLAG: _-
SERIALNO: 10001-
? 6204-21-1210 • CAP,MAIN METAL, NO.1,2,3,4 4
SN: 10001-
KIT-FLAG: _-
SERIALNO: 10001-
? \5\6204-29-1220 • CAP,MAIN METAL, NO.5 1
SN: 10001-
KIT-FLAG: _-
SERIALNO: 10001-
? 6204-21-1220 • CAP,MAIN METAL, NO.5 1
SN: 10001-
KIT-FLAG: _-
SERIALNO: 10001-
? 6141-21-1530 • RING 2
SN: 10001-
KIT-FLAG: _-
SERIALNO: 10001-
? 04025-00408 • PIN 4
SN: 16125-
KIT-FLAG: _-
SERIALNO: 16125-
? 04025-00408 • PIN 6
SN: 10001-16124
KIT-FLAG: _-
SERIALNO: 10001-16124
? 6204-21-1610 • BOLT 10
SN: 10001-
KIT-FLAG: _-
SERIALNO: 10001-
? 6204-51-1710 • BUSHING 1
SN: 10001-
KIT-FLAG: _-
SERIALNO: 10001-
? 6204-51-1620 • SHAFT,OIL PUMP 1
SN: 10001-
KIT-FLAG: _-
SERIALNO: 10001-
? 07046-41810 • PLUG 4
SN: 10001-
KIT-FLAG: _-
SERIALNO: 10001-
? 04020-00820 • PIN 2
SN: 10001-
KIT-FLAG: _-
SERIALNO: 10001-
? 07046-42216 • PLUG 1
SN: 14429-
KIT-FLAG: _-
SERIALNO: 14429-
? 07046-42010 • PLUG 1
SN: 10001-14428
KIT-FLAG: _-
SERIALNO: 10001-14428
? 04020-01228 • PIN 2
SN: 10001-
KIT-FLAG: _-
SERIALNO: 10001-
? 07046-43016 • PLUG 6
SN: 10001-
KIT-FLAG: _-
SERIALNO: 10001-
? 07046-42516 • PLUG 4
SN: 10001-
KIT-FLAG: _-
SERIALNO: 10001-
? 07042-10312 • PLUG 1
SN: 10001-
KIT-FLAG: _-
SERIALNO: 10001-
? 07043-50108 • PLUG 5
SN: 10001-
KIT-FLAG: _-
SERIALNO: 10001-
? 6140-21-1130 • BUSHING 2
SN: 10001-
KIT-FLAG: _-
SERIALNO: 10001-
? 07046-44016 • PLUG 1
SN: 10001-
KIT-FLAG: _-
SERIALNO: 10001-
? 07046-23016 PLUG 1
SN: 10001-
KIT-FLAG: _-
SERIALNO: 10001-
? 6204-21-6710 PLATE 1
SN: 10001-
KIT-FLAG: _-
SERIALNO: 10001-
? 6132-11-4820 GASKET (K2) 1
SN: 10001-
KIT-FLAG: _-
SERIALNO: 10001-
? 01435-20814 BOLT 2
SN: 10001-
KIT-FLAG: _-
SERIALNO: 10001-
? 6204-21-5510 GUIDE 1
SN: 10001-
KIT-FLAG: _-
SERIALNO: 10001-
? 6150-21-5930 NUT 1
SN: 10001-
KIT-FLAG: _-
SERIALNO: 10001-
? 6150-21-5920 COLLAR 1
SN: 10001-
KIT-FLAG: _-
SERIALNO: 10001-
? 6204-21-5421 GUIDE,OIL GAUGE 1
SN: 10001-
KIT-FLAG: _-
SERIALNO: 10001-
? 6204-21-5321 GAUGE,OIL 1
SN: 10001-
KIT-FLAG: _-
SERIALNO: 10001-
? 6206-21-5520 CLIP 1
SN: 10025-
KIT-FLAG: _-
SERIALNO: 10025-
? 6144-21-5650 CLIP 1
SN: 10001-10024
KIT-FLAG: _-
SERIALNO: 10001-10024
? 08073-00505 SWITCH 1
SN: 10001-
KIT-FLAG: _-
SERIALNO: 10001-
? 6204-81-2210 PLATE, NAME,(LIMITED SUPPLY) 1
SN: 29977-
KIT-FLAG: _-
SERIALNO: 29977-
? □09605-01411 PLATE, NAME,(LIMITED SUPPLY) 1
SN: 10001-29976
KIT-FLAG: _-
SERIALNO: 10001-29976
? 04418-02550 SCREW 4
SN: 10001-29976
KIT-FLAG: _-
SERIALNO: 10001-29976
? 6207-21-2110 LINER (MARK A),CYLINDER A/R
SN: 10001-
KIT-FLAG: _-
SERIALNO: 10001-
? 6207-21-2120 LINER (MARK B),CYLINDER A/R
SN: 10001-
KIT-FLAG: _-
SERIALNO: 10001-

Engines Komatsu / 4D95L-W-1A S/N 10001-UP(4d95l-mc) / CYLINDER BLOCK(060010 : 2001)