| Номер на схеме | Каталожный номер | Название | Количество | Детали | |||
|---|---|---|---|---|---|---|---|
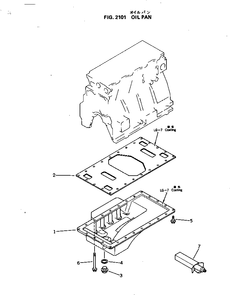
| ? | 6204-21-5131 | 1 | SN: 10491- |
||||
| ? | 6204-21-5130 | 1 | SN: 10001-10490 |
||||
| ? | 6204-21-5150 | 1 | SN: 10001- |
||||
| ? | 6204-21-5190 | 1 | SN: 10001- |
||||
| ? | 6204-21-5290 | 1 | SN: 10001- |
||||
| ? | 01435-20825 | 19 | SN: 10001- |
||||
| ? | 01436-20800 | 5 | SN: 10001- |
||||
| ? | 09920-00150 | A/R | SN: 10001- |
