| Номер на схеме | Каталожный номер | Название | Количество | Детали | |||
|---|---|---|---|---|---|---|---|
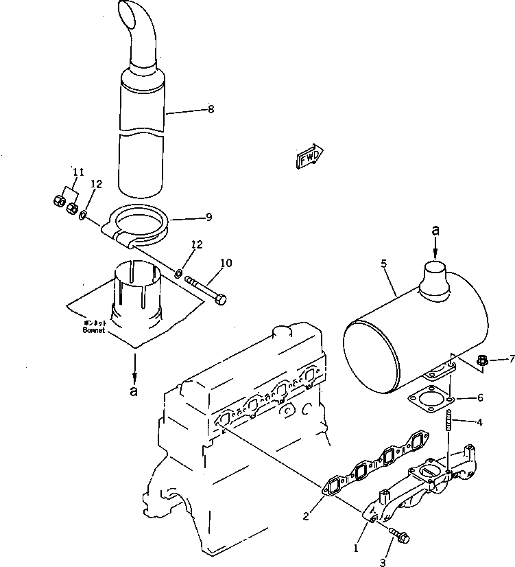
| ? | 6204-11-5130 | MANIFOLD,EXHAUST | 1 | SN: 36389- |
|||
| ? | ♦6204-11-5110 | MANIFOLD,EXHAUST | 1 | SN: 23318-36388 |
|||
| ? | 6205-11-5810 | GASKET (K1) | 1 | SN: 74719- |
|||
| ? | ♦6204-11-5810 | GASKET (K1) | 1 | SN: 23318-74718 |
|||
| ? | 01435-01045 | BOLT | 8 | SN: 23318- |
|||
| ? | 01140-61025 | STUD | 4 | SN: 23318- |
|||
| ? | (☉6202-1X-5000) | MUFFLER GROUP | 1 | SN: 23318- |
|||
| ? | ==================== | ||||||
| ? | 6202-12-5510 | MUFFLER | 1 | SN: 23318- |
|||
| ? | 6130-12-5580 | GASKET (K1) | 1 | SN: 23318- |
|||
| ? | 6142-12-5850 | NUT | 4 | SN: 23318- |
|||
| ? | 6202-12-5761 | PIPE,EXHAUST | 1 | SN: 36389- |
|||
| ? | ♦6202-12-5760 | PIPE,EXHAUST | 1 | SN: 23318-36388 |
|||
| ? | 6202-12-5660 | CLAMP | 1 | SN: 23318- |
|||
| ? | 6144-11-5670 | BOLT | 1 | SN: 23318- |
|||
| ? | 01582-01411 | NUT | 2 | SN: 23318- |
|||
| ? | 6151-11-5670 | WASHER | 2 | SN: 23318- |
|||
| ? | ==================== |
