| Номер на схеме | Каталожный номер | Название | Количество | Детали | |||
|---|---|---|---|---|---|---|---|
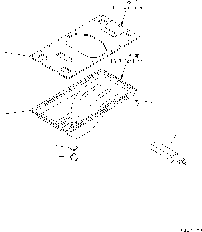
| ? | 6204-21-5111 | PAN,OIL | 1 | SN: 23318-74638 |
|||
| ? | 6204-21-5150 | PLATE,UNDER | 1 | SN: 23318-@ |
|||
| ? | 6204-21-5180 | PLUG,DRAIN | 1 | SN: 23318-@ |
|||
| ? | 07005-02216 | GASKET (K2) | 1 | SN: 42812-@ |
|||
| ? | □6204-21-5290 | GASKET (K2) | 1 | SN: 23318-42811 |
|||
| ? | 01435-00816 | BOLT | 24 | SN: 52472-@ |
|||
| ? | □01435-20816 | BOLT | 24 | SN: 23318-52471 |
|||
| ? | (09920-00150) | LIQUID GASKET,LG-7¤ 150G | A/R | SN: 23318-74638 |