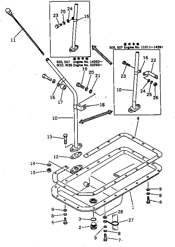
k-part
Номер на схеме Каталожный номер Название Количество Детали
? 6144-21-5110 PAN 1
SN: 12336-
? 6130-22-5190 PLUG 1
SN: 21819-
? □6144-21-5190 PLUG 1
SN: 12336-21818
? 07000-03022 O-RING (K2) 1
SN: 12336-
? 6141-21-5811 GASKET (K2) 1
SN: 12336-
? 01010-30816 BOLT 3
SN: 12336-.
? 01010-30818 BOLT 20
SN: .-
? 01010-30818 BOLT 17
SN: 12336-.
? 01602-00825 WASHER 20
SN: 12336-
? 01640-20816 WASHER 20
SN: .-
? □01641-20812 WASHER 20
SN: 12336-.
? 6144-21-5412 GUIDE 1
SN: 24550-
? 6144-21-5411 GUIDE 1
SN: 12336-24549
? 6144-21-5310 GAUGE 1
SN: 12336-
? 6141-21-5830 GASKET (K2) 1
SN: 12336-
? 01010-31030 BOLT 2
SN: 12336-
? 01602-01030 WASHER 2
SN: 12336-
? 01580-01008 NUT 2
SN: 12336-
? 6144-21-5590 CLAMP 1
SN: 24550-
? 6141-21-5350 CLAMP 1
SN: 12336-24549
? (6144-11-5630) SPACER,(SEE FIG.121 OR 122) 1
SN: 12336-
? 6144-21-5560 CLAMP 1
SN: 12336-24549
? 6144-21-5560 CLAMP 1
SN: 10000-10000
? 01010-31020 BOLT 1
SN: 12336-24549
? 01010-31020 BOLT 1
SN: 10000-10000
? 01602-01030 WASHER 1
SN: 12336-24549
? 01602-01030 WASHER 1
SN: 10000-10000
? 01641-21016 WASHER 1
SN: 12336-24549
? 01641-21016 WASHER 1
SN: 10000-10000

Engines Komatsu / 4D94-2P S/N 12336-UP(4d94-2pr) / OIL PAN(060030 : 215)