| Номер на схеме | Каталожный номер | Название | Количество | Детали | |||
|---|---|---|---|---|---|---|---|
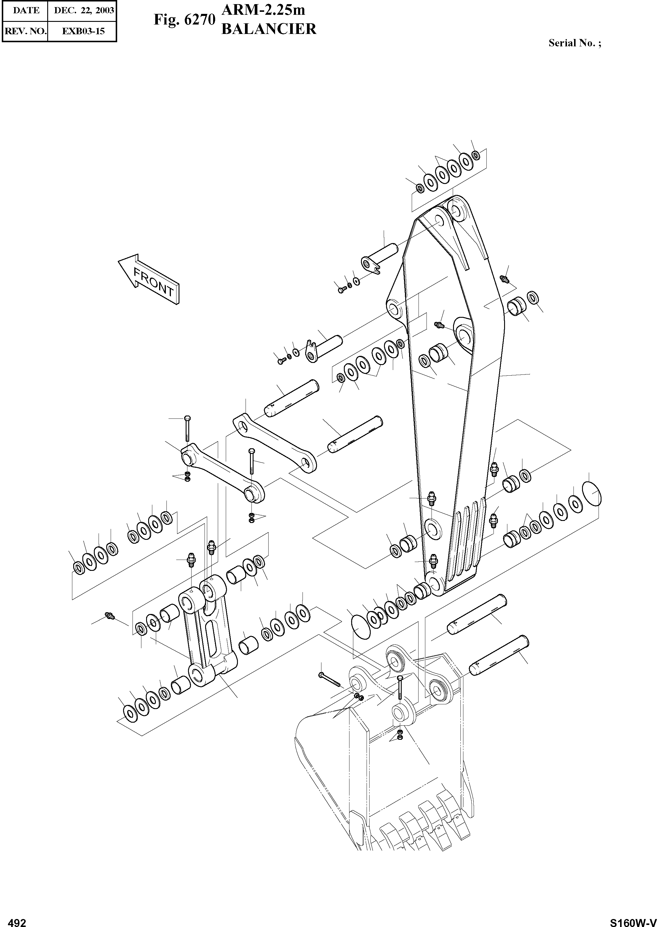
| ? | 2701-1606B | ARM ASS'Y-2.25m | A/R | SERIAL_NO: ICA: REP_PNO: REP_QTY: SC: D desc: BALANCIER LNKOP: IP: |
|||
| ? | 2701-1607K | ARM SUB ASS'Y-2.25m | 1 | SERIAL_NO: ICA: REP_PNO: REP_QTY: SC: desc: BALANCIER LNKOP: IP: |
|||
| ? | 2110-1328A | . BUSHING | 2 | SERIAL_NO: ICA: REP_PNO: REP_QTY: SC: desc: . MANCHON LNKOP: IP: |
|||
| ? | 2110-1329A | . BUSHING | 2 | SERIAL_NO: ICA: REP_PNO: REP_QTY: SC: desc: . MANCHON LNKOP: IP: |
|||
| ? | 2110-1330A | . BUSHING | 2 | SERIAL_NO: ICA: REP_PNO: REP_QTY: SC: desc: . MANCHON LNKOP: IP: |
|||
| ? | 2155-1339E | LINK;PUSH ASS'Y | 1 | SERIAL_NO: ICA: REP_PNO: REP_QTY: SC: desc: ARTICULATION LNKOP: IP: |
|||
| ? | 2110-1366A | . BUSHING | 4 | SERIAL_NO: ICA: REP_PNO: REP_QTY: SC: desc: . MANCHON LNKOP: IP: |
|||
| ? | 2155-1306B | LINK;GUIDE(R) | 1 | SERIAL_NO: ICA: REP_PNO: REP_QTY: SC: desc: ARTICULATION LNKOP: IP: |
|||
| ? | 2155-1307B | LINK;GUIDE(L) | 1 | SERIAL_NO: ICA: REP_PNO: REP_QTY: SC: desc: ARTICULATION LNKOP: IP: |
|||
| ? | 2123-2209C | PIN | 1 | SERIAL_NO: ICA: REP_PNO: REP_QTY: SC: desc: GOUPILLE LNKOP: IP: |
|||
| ? | 2123-2225C | PIN | 1 | SERIAL_NO: ICA: REP_PNO: REP_QTY: SC: desc: GOUPILLE LNKOP: IP: |
|||
| ? | 2123-2211C | PIN | 2 | SERIAL_NO: ICA: REP_PNO: REP_QTY: SC: desc: GOUPILLE LNKOP: IP: |
|||
| ? | 2123-2212C | PIN | 2 | SERIAL_NO: ICA: REP_PNO: REP_QTY: SC: desc: GOUPILLE LNKOP: IP: |
|||
| ? | 2180-1106BD4 | SEAL;DUST | 4 | SERIAL_NO: ICA: REP_PNO: REP_QTY: SC: desc: JOINT DE LA POUSSIERE LNKOP: IP: |
|||
| ? | 2180-1106BD3 | SEAL;DUST | 14 | SERIAL_NO: ICA: REP_PNO: REP_QTY: SC: desc: JOINT DE LA POUSSIERE LNKOP: IP: |
|||
| ? | 2114-1058D12 | SHIM | 12 | SERIAL_NO: ICA: REP_PNO: REP_QTY: SC: desc: CALE LNKOP: IP: |
|||
| ? | 2114-1059D127 | SHIM | 2 | SERIAL_NO: ICA: REP_PNO: REP_QTY: SC: desc: CALE LNKOP: IP: |
|||
| ? | 2116-1060D6 | STOPPER | 2 | SERIAL_NO: ICA: REP_PNO: REP_QTY: SC: desc: TAQUET D'ARRET LNKOP: IP: |
|||
| ? | S0521366 | BOLT M16X2.0X35 | 2 | SERIAL_NO: ICA: REP_PNO: REP_QTY: SC: desc: BOULON A 6 PANS LNKOP: IP: |
|||
| ? | S5102903 | WASHER;SPRING M16 | 2 | SERIAL_NO: ICA: REP_PNO: REP_QTY: SC: desc: RONDELLE ELASTIQUE LNKOP: IP: |
|||
| ? | S4012933 | NUT M16X2.0 | 8 | SERIAL_NO: ICA: REP_PNO: REP_QTY: SC: desc: ECROU LNKOP: IP: |
|||
| ? | S0566766 | BOLT M16X2.0X125 | 4 | SERIAL_NO: ICA: REP_PNO: REP_QTY: SC: desc: BOULON A 6 PANS LNKOP: IP: |
|||
| ? | S6710041 | FITTING | 9 | SERIAL_NO: ICA: REP_PNO: REP_QTY: SC: desc: GRAISSEUR LNKOP: IP: |
|||
| ? | 180-00077D3 | O-RING | 2 | SERIAL_NO: ICA: REP_PNO: REP_QTY: SC: desc: JOINT TORIQUE LNKOP: IP: |
|||
| ? | 2114-1059D89 | SHIM | 8 | SERIAL_NO: ICA: REP_PNO: REP_QTY: SC: desc: CALE LNKOP: IP: |
|||
| ? | 2114-1059D129 | SHIM | 2 | SERIAL_NO: ICA: REP_PNO: REP_QTY: SC: desc: CALE LNKOP: IP: |
|||
| ? | 2114-1994A | SPACER | 2 | SERIAL: 1001-2063 SERIAL_NO: 1001~2063 ICA: I REP_PNO: 2114-1994B REP_QTY: 2 SC: desc: ENTRETOISE LNKOP: IP: |
|||
| ? | 2114-1994B | SPACER | 2 | SERIAL: 2064- SERIAL_NO: 2064~ ICA: REP_PNO: REP_QTY: SC: desc: ENTRETOISE LNKOP: IP: |
|||
| ? | 2114-1995A | SPACER | 2 | SERIAL: 1001-2063 SERIAL_NO: 1001~2063 ICA: I REP_PNO: 2114-1995B REP_QTY: 2 SC: desc: ENTRETOISE LNKOP: IP: |
|||
| ? | 2114-1995B | SPACER | 2 | SERIAL: 2064- SERIAL_NO: 2064~ ICA: REP_PNO: REP_QTY: SC: desc: ENTRETOISE LNKOP: IP: |