| Номер на схеме | Каталожный номер | Название | Количество | Детали | |||
|---|---|---|---|---|---|---|---|
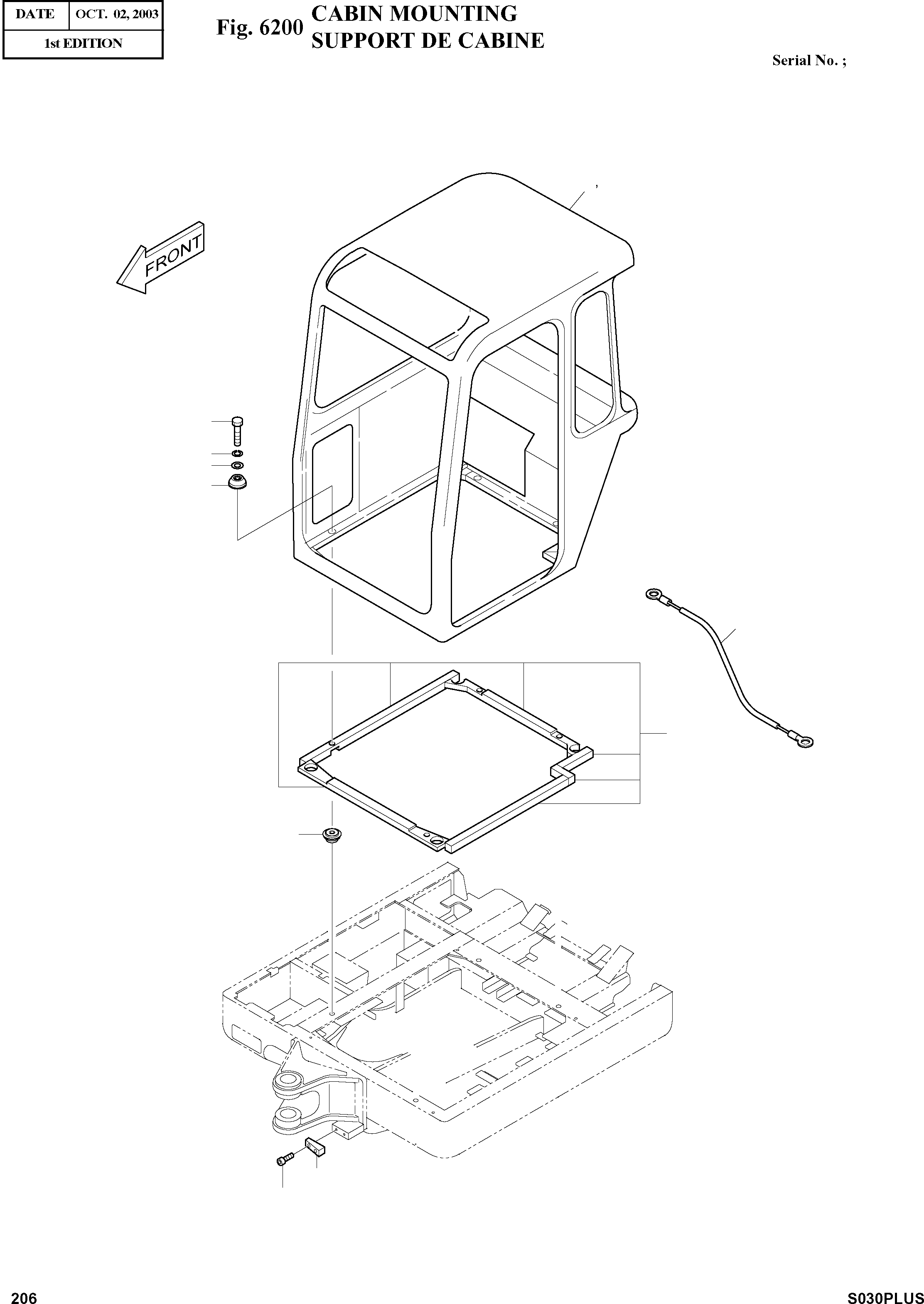
| ? | 622-00228 | CABIN MOUNTING | A/R | SERIAL_NO: ICA: REP_PNO: REP_QTY: SC: D desc: CABINE LNKOP: IP: |
|||
| ? | 622-00311A | CABIN ASS'Y | 1 | SERIAL_NO: ICA: REP_PNO: REP_QTY: SC: desc: CABINE LNKOP: IP: |
|||
| ? | 2128-1207 | STOPPER;SWING | 1 | SERIAL_NO: ICA: REP_PNO: REP_QTY: SC: desc: ARRET LNKOP: IP: |
|||
| ? | S2212053 | BOLT;SOCKET M10X1.5X25 | 2 | SERIAL_NO: ICA: REP_PNO: REP_QTY: SC: desc: BOULON A 6PANS LNKOP: IP: |
|||
| ? | 2622-1447A | CABIN MOUNT | 1 | SERIAL_NO: ICA: REP_PNO: REP_QTY: SC: D desc: CABINE LNKOP: IP: |
|||
| ? | 2161-2244A | . ABSORBER;RUBBER | 1 | SERIAL_NO: ICA: REP_PNO: REP_QTY: SC: desc: . MANCHON CAOUTCHOUC LNKOP: IP: |
|||
| ? | 854-10004 | . ABSORBER;RUBBER | 8 | SERIAL_NO: ICA: REP_PNO: REP_QTY: SC: desc: . PROFILE CAOUTCHOUC EN H LNKOP: IP: |
|||
| ? | S0561553 | . BOLT M12X1.75X90 | 4 | SERIAL_NO: ICA: REP_PNO: REP_QTY: SC: desc: . BOULON A 6PANS LNKOP: IP: |
|||
| ? | S5102703 | . WASHER;SPRING M12 | 4 | SERIAL_NO: ICA: REP_PNO: REP_QTY: SC: desc: . RONDELLE ELASTIQUE LNKOP: IP: |
|||
| ? | 2114-1058D85 | . WASHER | 4 | SERIAL_NO: ICA: REP_PNO: REP_QTY: SC: desc: . RONDELLE LNKOP: IP: |
|||
| ? | 2530-1659 | WIRE;EARTH | 1 | SERIAL_NO: ICA: REP_PNO: REP_QTY: SC: desc: FIL LNKOP: IP: |
|||
| ? | 622-00322 | CABIN ASS'Y(TOPS) | 1 | SERIAL_NO: ICA: REP_PNO: REP_QTY: SC: desc: CABINE LNKOP: IP: |