| Номер на схеме | Каталожный номер | Название | Количество | Детали | |||
|---|---|---|---|---|---|---|---|
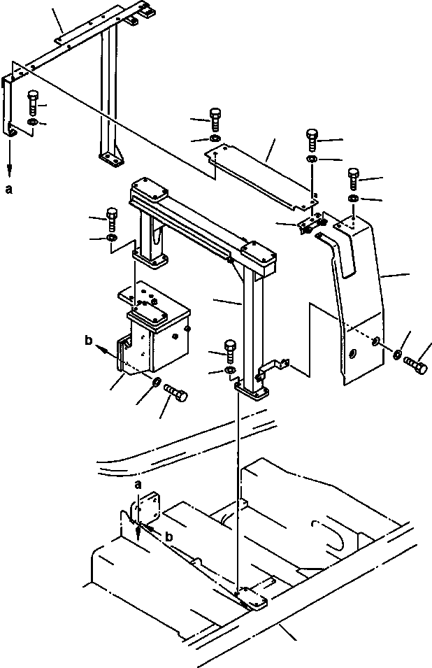
| ? | 208-956-5170 | COVER, TOP | 1 | ||||
| ? | 01010-81225 | BOLT | 5 | ||||
| ? | 01643-31232 | WASHER | 5 | ||||
| ? | 207-956-5121 | GUARD | 1 | ||||
| ? | 01010-81640 | BOLT | 8 | ||||
| ? | 01643-31645 | WASHER | 8 | ||||
| ? | 207-956-5161 | COVER, SIDE | 1 | ||||
| ? | 01010-81225 | BOLT | 4 | ||||
| ? | 01643-31232 | WASHER | 4 | ||||
| ? | 207-956-5190 | BRACKET | 1 | ||||
| ? | 208-956-5211 | BRACKET | 1 | ||||
| ? | 01010-81230 | BOLT | 3 | ||||
| ? | 01643-31232 | WASHER | 3 | ||||
| ? | 207-956-5181 | BRACKET | 1 | ||||
| ? | 01010-81640 | BOLT | 4 | ||||
| ? | 01643-31645 | WASHER | 4 | ||||
| ? | FRAME, REVOLVING (SEE PG 04-022) | -29 | 09AHP400.001 |