| Наименование | Страница | Код страницы |
|---|---|---|
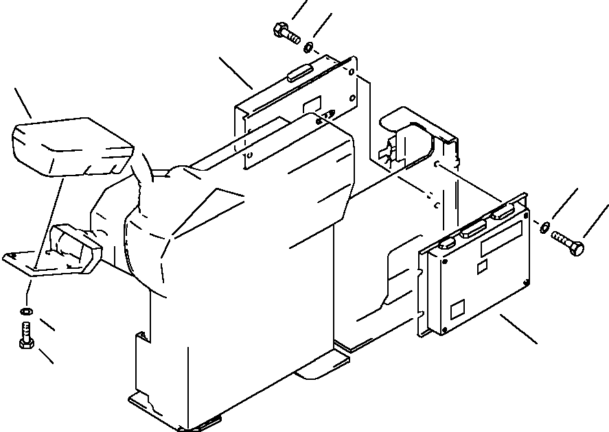
| ELECTRONIC MONITOR AND CONTROL CONSOLE (EMACC) | 01-058 | 11AJ6200.001 |
| Номер на схеме | Каталожный номер | Название | Количество | Детали | |||
|---|---|---|---|---|---|---|---|
| ? | 01221-40620 | SCREW | 4 | ||||
| ? | 01641-20608 | WASHER | 4 | ||||
| ? | 7824-14-2000 | CONTROLLER, PUMP | 1 | ||||
| ? | 01010-81020 | BOLT | 4 | ||||
| ? | 01643-31032 | WASHER | 4 | ||||
| ? | 7824-34-1100 | CONTROLLER, ENGINE THROTTLE | 1 | ||||
| ? | 01010-81020 | BOLT | 4 | ||||
| ? | 01643-31032 | WASHER | 4 | ||||
| ? | CONSOLE, ELECTRONIC MONITOR AND CONTROL |