k-part
Номер на схеме Каталожный номер Название Количество Детали
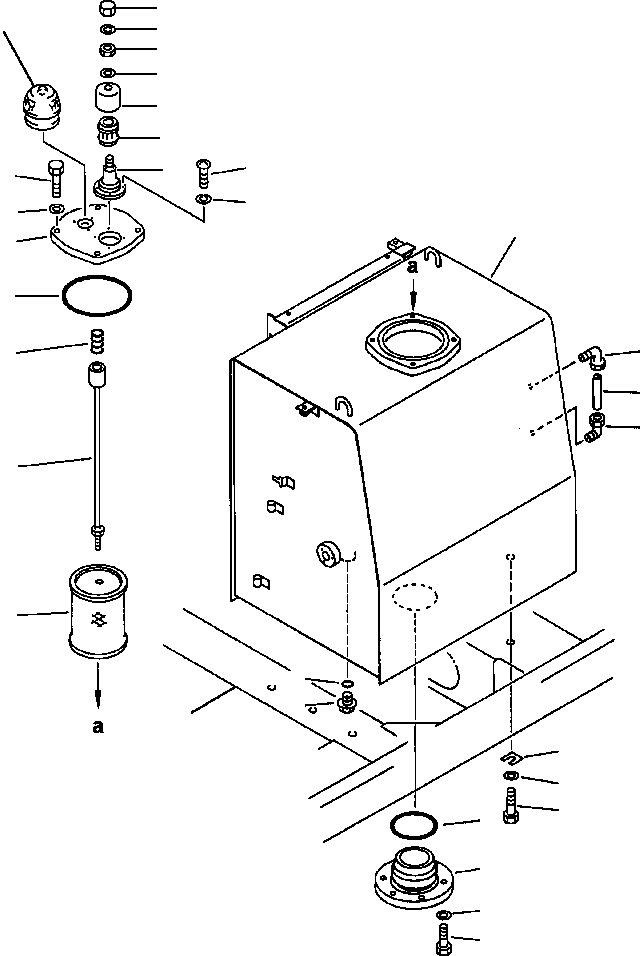
? 208-60-00100 TANK ASSEMBLY, HYDRAULIC 1
? (NSS) • TANK, HYDRAULIC 1
? 203-60-31100 • ELBOW ASSEMBLY 2
? 203-60-31160 • TUBE 1
? 07002-02434 • O-RING 1
? 07044-12412 • PLUG 1
? 207-62-52291 FLANGE 1
? 07000-02015 O-RING 1
? 01010-81245 BOLT 6
? 01643-31232 WASHER 6
? 207-60-51300 BREATHER ASSEMBLY 1
? 207-60-51310 • ELEMENT, FILTER 1
? 207-60-51320 • SEAL, WASHER 2
? 01220-40516 SCREW 4
? 01601-20513 WASHER, SPRING 4
? 01010-81035 BOLT 4
? 01643-31032 WASHER 4
? 208-60-51251 COVER 1
? 07000-05180 O-RING 1
? 12R-60-11230 SPRING 1
? 207-60-51161 SUPPORT 1
? 207-60-51200 STRAINER 1
? 01010-81635 BOLT 6
? 01643-31645 WASHER 6
? 195-03-11570 SHIM, 0.039 IN. (1.0 MM) A/R
? CAP, ANTI-VANDALISM (SEE PG 06-010) -29 02ZZ6300.001
? FRAME, REVOLVING (SEE PG 04-022) -29 09AHP400.001

Excavators Komatsu / PC400LC-5 S/N A70501-UP(PC4005KE) / HYDRAULIC OIL TANK S/N A70783 AND BELOW(06-002 : 10BZ6400.001)
?
?
?
?
?
?
?
?
?
?
?
?
?
?
?
?
?
?
?
?
?
?
?
?
?
?
?
?
?
?
?