| Номер на схеме | Каталожный номер | Название | Количество | Детали | |||
|---|---|---|---|---|---|---|---|
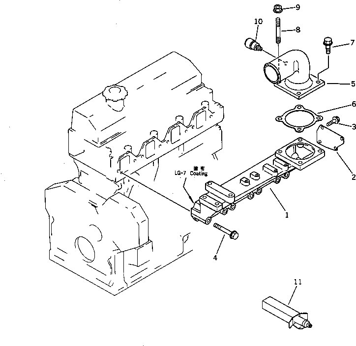
| ? | 6204-11-4130 | MANIFOLD,AIR INTAKE | 1 | SN: 49965- |
|||
| ? | 6204-11-4140 | PLATE | 1 | SN: 49965- |
|||
| ? | 01435-00812 | BOLT | 4 | SN: 49965- |
|||
| ? | 01435-21075 | BOLT | 8 | SN: 49965- |
|||
| ? | 6204-12-4230 | CONNECTOR,AIR | 1 | SN: 49965- |
|||
| ? | 6136-11-4820 | GASKET (K1) | 1 | SN: 49965- |
|||
| ? | 01435-21025 | BOLT | 3 | SN: 49965- |
|||
| ? | 01144-31025 | STUD | 1 | SN: 49965- |
|||
| ? | 01584-01008 | NUT | 1 | SN: 49965- |
|||
| ? | 08670-02001 | INDICATOR,DUST | 1 | SN: 49965- |
|||
| ? | 09920-00150 | LIQUID GASKET,LG-7 ? 150G | A/R | SN: 49965- |
