|
Номер на схеме |
Каталожный номер |
Название |
Количество |
Детали |
|
|
|
? |
|
OR |
|
|
|
|
|
? |
|
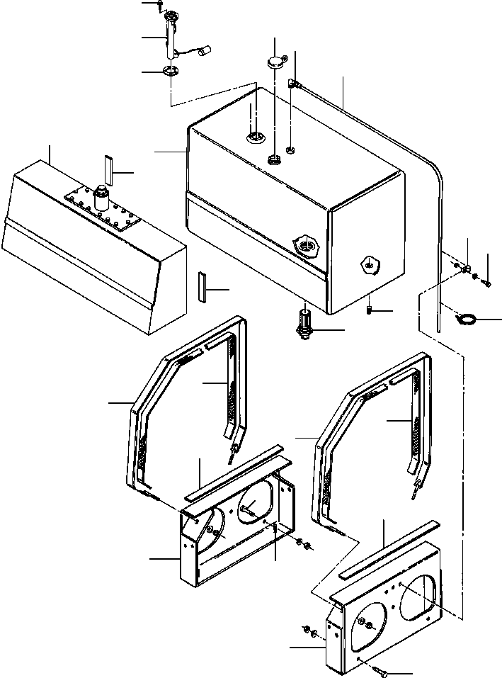
TANK, HYDRAULIC OIL(SEE FIG. H5220-01A0) |
|
|
H5220-01A0 |
|
|
? |
|
STRIP, ANTISQUEAK - 6 IN. |
2 |
|
F1 |
|
|
? |
1436 897 H91 |
TANK, FUEL |
1 |
|
|
|
|
? |
1437 319 H1 |
CAP, FUEL TANK |
1 |
|
|
|
|
? |
1283 054 H1 |
SENDING UNIT, FUEL TANK |
1 |
|
|
|
|
? |
29 362 |
GASKET, FUEL SENDING UNIT |
1 |
|
|
|
|
? |
1431 126 H1 |
SCREW, SELF-TAPPING |
5 |
|
|
|
|
? |
1430 424 H91 |
FITTING, COMPRESSION |
1 |
|
|
|
|
? |
1430 425 H1 |
TUBE, VENT |
1 |
|
|
|
|
? |
299 401 C1 |
CLAMP, HOSE |
1 |
|
|
|
|
? |
25 222 R1 |
BOLT |
1 |
|
|
|
|
? |
25 542 R1 |
WASHER, FLAT |
1 |
|
|
|
|
? |
25 519 R1 |
NUT, HEX |
1 |
|
|
|
|
? |
149 880 |
STRAP, TIE |
1 |
|
|
|
|
? |
48 192 |
PLUG, TANK DRAIN |
1 |
|
|
|
|
? |
1432 438 H1 |
STRAINER, FUEL |
1 |
|
|
|
|
? |
1436 940 H91 |
STRAP |
2 |
|
|
|
|
? |
25 534 R1 |
WASHER, FLAT |
4 |
|
|
|
|
? |
21 622 R1 |
NUT, LOCK |
4 |
|
|
|
|
? |
142 227 |
WEBBING |
2 |
|
|
|
|
? |
|
STRIP, ANTISQUEAK - 26.7 IN. |
2 |
|
F1 |
|
|
? |
1436 911 H91 |
BRACKET, TANK SUPPORT |
2 |
|
|
|
|
? |
62 953 |
STUD |
4 |
|
|
|
|
? |
24 862 R1 |
BOLT |
4 |
|
|
|
|
? |
28 423 R1 |
WASHER, FLAT |
8 |
|
|
|
|
? |
25 526 R1 |
NUT, HEX |
8 |
|
|
|
|
? |
|
|
|
|
|
|
|
? |
|
F1 CUT TO LENGTH FROM P/N 139 895 NEOPRENE MOUNTING PAD - 16 FT. |
|
|
|
|
|
? |
|
|
|
|
|
|