k-part
Номер на схеме Каталожный номер Название Количество Детали
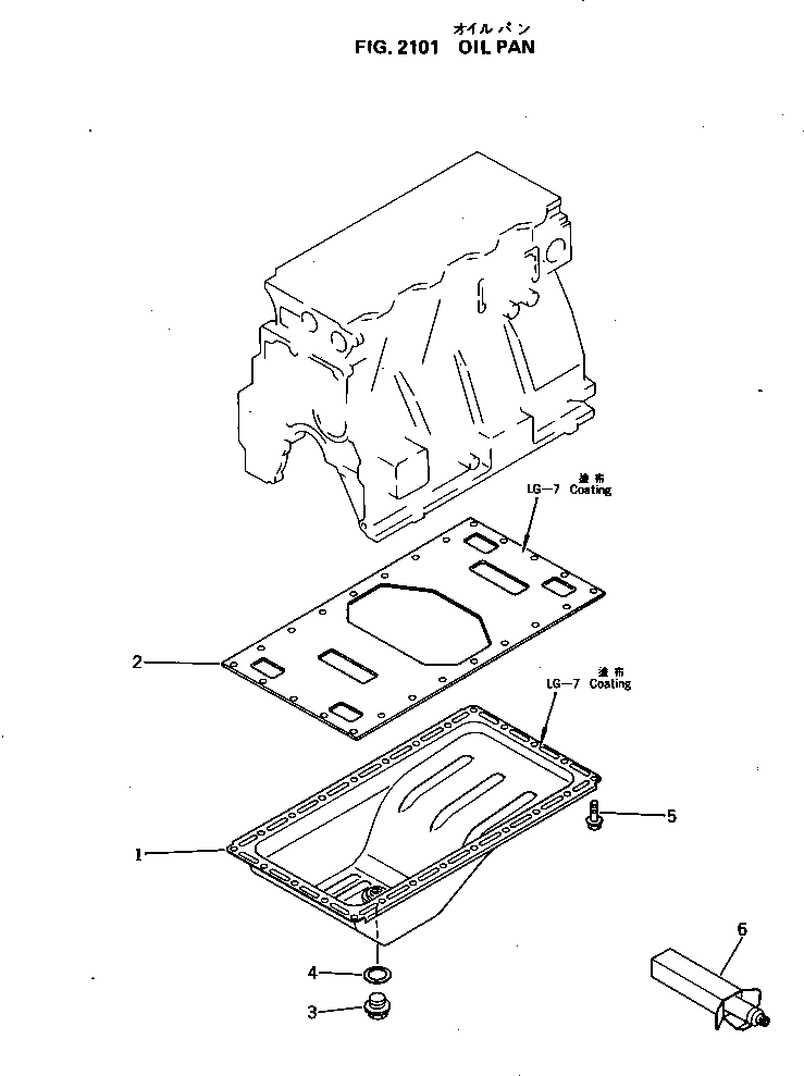
? 6204-21-5110 PAN,OIL 1
SN: 10001-
? 6204-21-5150 PLATE 1
SN: 10001-
? 6204-21-5190 PLUG 1
SN: 10001-
? 6204-21-5290 GASKET (K2) 1
SN: 10001-
? 01435-20816 BOLT 24
SN: 10001-
? 09920-00150 LIQUID GASKET,LG-7 ? 150G A/R
SN: 10001-

Engines Komatsu / 4D95L-1C S/N 10001-UP(4d95l-br) / OIL PAN(060030 : 2101)