| Номер на схеме | Каталожный номер | Название | Количество | Детали | |||
|---|---|---|---|---|---|---|---|
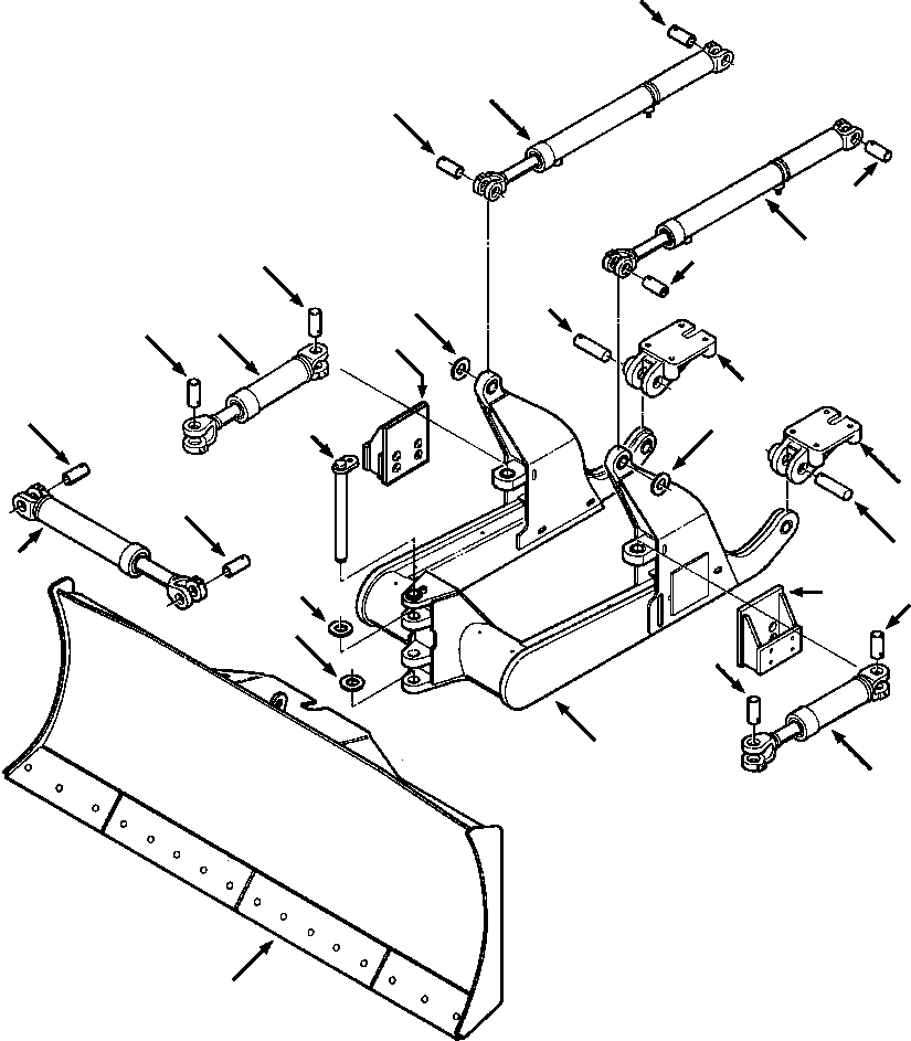
| ? | (1262 756 H91) | BLADE EQUIPMENT | -54 | F1 | |||
| ? | (1262 759 H91) | • TRUNNIONS | -54 | F1 | |||
| ? | 1283 791 H91 | • • TRUNNION, LEFT | 1 | ||||
| ? | 25 646 R1 | • • BOLT, HEX - 1NCx2-3/4 | 4 | ||||
| ? | 25 550 R1 | • • WASHER, FLAT - 1 | 4 | ||||
| ? | 1283 792 H91 | • • TRUNNION, RIGHT | 1 | ||||
| ? | 25 646 R1 | • • BOLT, HEX - 1NCx2-3/4 | 4 | ||||
| ? | 25 550 R1 | • • WASHER, FLAT - 1 | 4 | ||||
| ? | 1279 063 H1 | • • PIN, C FRAME | 2 | ||||
| ? | 24 880 R1 | • • BOLT, HEX - 5/8NCx3-1/2 | 2 | ||||
| ? | 9412 231 | • • NUT, LOCK - 5/8NC | 2 | ||||
| ? | (1263 050 H91) | • DOZER CYLINDERS | -54 | F1 | |||
| ? | • • CYLINDER, LIFT (SEE PG 10-054) | -29 | 10BRTD8H.001 | ||||
| ? | • • CYLINDER, ANGLE (SEE PG 10-058) | -29 | 10BRTD7H.003 | ||||
| ? | • • CYLINDER, TILT (SEE PG 10-056) | -29 | 10BRTD9H.002 | ||||
| ? | 1270 112 H1 | • • PIN, MOUNTING | 9 | ||||
| ? | 24 856 R1 | • • BOLT, HEX - 7/16NCx4 | 9 | ||||
| ? | 9413 981 | • • NUT, LOCK - 7/16NC | 9 | ||||
| ? | 1279 088 H1 | • • PIN, MOUNTING | 1 | ||||
| ? | 24 856 R1 | • • BOLT, HEX - 7/16NCx4 | 1 | ||||
| ? | 9413 981 | • • NUT, LOCK - 7/16NC | 1 | ||||
| ? | • BLADE AND ANGLING FRAME (SEE PG 17-006) | -29 | 17AVTD8H.001 | ||||
| ? | 1270 296 H91 | • PIN, LOCK | 1 | ||||
| ? | 24 859 R1 | • BOLT, HEX - 1/2NCx3/4 | 1 | ||||
| ? | 932 278 C1 | • WASHER, FLAT - 1-3/8 | 1 | ||||
| ? | 1209 358 H1 | • SHIM, FRAME - 0.090IN | A/R | F2 | |||
| ? | 1209 358 H1 | • SHIM, FRAME - 0.090IN | 1 | ||||
| ? | 1209 358 H1 | • SHIM, FRAME - 0.090IN | 2 | ||||
| ? | • FRAME, C (SEE PG 17-012) | -29 | F1;17AHD32E.001 | ||||
| ? | • TUBING AND HOSES (SEE PG 10-006) | -29 | F1;10AHTD8H.002 | ||||
| ? | BAR, RUB (SEE PG 15-004) | -29 | 15ADTD8H.002 | ||||
| ? | |||||||
| ? | F1 - PART NUMBER IS A NON-SERVICE PART AND IS LISTED FOR REFERENCE ONLY. | ||||||
| ? | |||||||
| ? | |||||||
| ? | F2 - MINIMUM OF 1 SHIM TO A MAXIMUM OF 2 SHIMS USED AT THIS POSITION. | ||||||
| ? |