| Номер на схеме | Каталожный номер | Название | Количество | Детали | |||
|---|---|---|---|---|---|---|---|
| ? | (1281 166 H91) | TRACK SHOES | -54 | F1 | |||
| ? | 1270 460 H1 | • SHOE, TRACK | 74 | ||||
| ? | 616 199 C4 | • BOLT, TRACK SHOE | 288 | ||||
| ? | 616 200 C1 | • NUT, TRACK SHOE | 288 | ||||
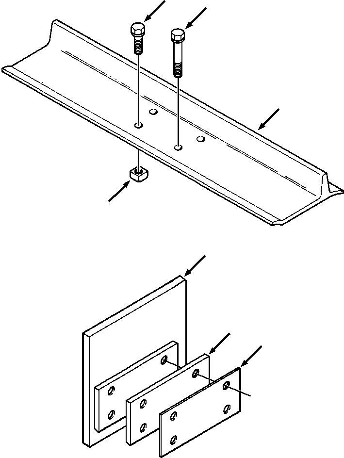
| ? | 1258 994 H91 | • BAR, RUB | 2 | ||||
| ? | 24 877 R1 | • BOLT, HEX - 5/8NCx2-1/2 | 8 | ||||
| ? | 25 547 R1 | • WASHER, FLAT - 5/8 | 8 | ||||
| ? | 1258 974 H1 | • MOUNTING BAR, RUB BAR | 2 | ||||
| ? | 1258 997 H1 | • SHIM, RUB BAR | A/R | ||||
| ? | BOLT, MASTER LINK (SEE PG 15-010) | -29 | 15AMD38E.001 | ||||
| ? | |||||||
| ? | F1 - PART NUMBER IS A NON-SERVICE PART AND IS LISTED FOR REFERENCE ONLY. | ||||||
| ? |