| Номер на схеме | Каталожный номер | Название | Количество | Детали | |||
|---|---|---|---|---|---|---|---|
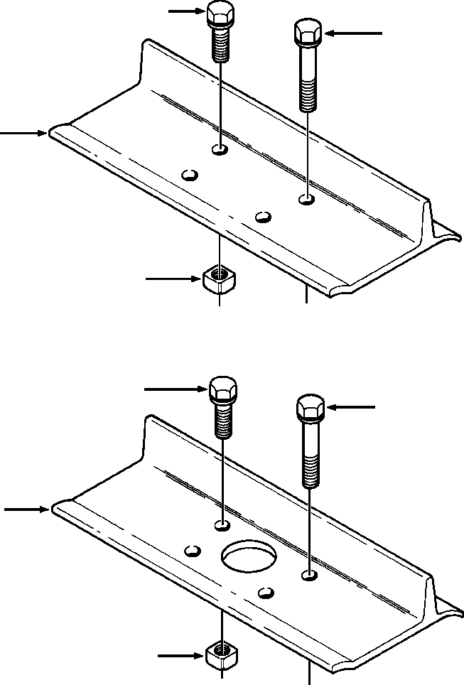
| ? | (1281 164 H91) | TRACK SHOES | -54 | F1 | |||
| ? | 1236 985 H1 | • SHOE, TRACK | 74 | ||||
| ? | 616 199 C4 | • BOLT, TRACK SHOE | 288 | ||||
| ? | 616 200 C1 | • NUT, TRACK SHOE | 288 | ||||
| ? | BOLT, MASTER LINK (SEE PG 15-010) | -29 | 15AMD38E.001 | ||||
| ? | (1281 165 H91) | TRACK SHOES WITH MUD RELIEF | -54 | F1 | |||
| ? | 1237 418 H1 | • SHOE, TRACK | 74 | ||||
| ? | 616 199 C4 | • BOLT, TRACK SHOE | 288 | ||||
| ? | 616 200 C1 | • NUT, TRACK SHOE | 288 | ||||
| ? | BOLT, MASTER LINK (SEE PG 15-010) | -29 | 15AMD38E.001 | ||||
| ? | |||||||
| ? | F1 - PART NUMBER IS A NON-SERVICE PART AND IS LISTED FOR REFERENCE ONLY. | ||||||
| ? |