k-part
Номер на схеме Каталожный номер Название Количество Детали
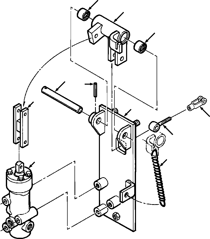
? (1306 944 H91) VALVE AND BRACKET ASSY, BRAKE -54 F1
? 1306 954 H91 • BRACKET, BRAKE 1
? (1281 715 H91) • BELLCRANK ASSY, BRAKE -54 F1
? 1281 716 H91 • • BELLCRANK 1
? 173 892 C91 • • BEARING, NEEDLE 2
? 346 019 R1 • SPRING 1
? 1268 173 H1 • SHAFT, CONTROL 1
? 19 444 R1 • PIN, ROLL - 5/32x1-3/8 1
? 1281 714 H91 • LINK, BRAKE 1
? 26 114 R1 • PIN, CLEVIS - 1/4x1-1/4 1
? 103 361 • PIN, COTTER - 1/16x1/2 1
? 1258 313 H91 EYE, STEERING 1
? 25 934 R1 NUT, JAM - 3/8NF 1
? 865 197 R1 PIN, CLEVIS - 3/8x1-7/32 1
? 103 373 PIN, COTTER - 3/32x3/4 1
? 116 536 CLEVIS - 3/8 1
? 865 197 R1 PIN, CLEVIS - 3/8x1-7/32 1
? 103 373 PIN, COTTER - 3/32x3/4 1
? VALVE, BRAKE (SEE PG 07-082) -29 07EMD32E.002
? 25 235 R1 BOLT, HEX - 5/16NCx2-1/2 3
? 25 533 R1 WASHER, FLAT - 5/16 3
?
? F1 - PART NUMBER IS A NON-SERVICE PART AND IS LISTED FOR REFERENCE ONLY.
?

Bulldozers Komatsu / D38E-1/P-1 S/N P085501-P085798(D38EP1) / BRAKE VALVE CONTROL(04-018 : 04ADD32E.006)
?
?
?
?
?
?
?
?
?
?
?